ГОСТ 19869-74 Фонограммы магнитные на 35-мм перфорированной ленте. Размеры и расположение дорожек записи и магнитных головок. Технические требования
ГОСТ
Скачать ГОСТ в PDF или DOC бесплатно
Основная информация
Обозначение:
ГОСТ 19869-74
Статус:
Действует
Тип:
ГОСТ
Название русское:
Фонограммы магнитные на 35-мм перфорированной ленте. Размеры и расположение дорожек записи и магнитных головок. Технические требования
Название английское:
Magnetic sound records on 35-mm perforated film. Dimensions and location of magnetic sound records and magnetic heads. Technical requirements
Даты и сроки
Дата издания:
01-01-98
Дата введения в действие:
06-30-75
Дата завершения срока действия:
-
Применение и описание
Область и условия применения:
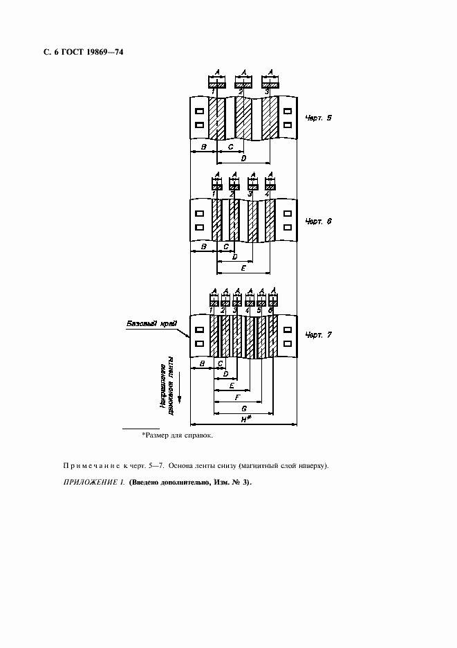
Настоящий стандарт распространяется на одно-, трех-, четырех- и шестидорожечные магнитные фонограммы на 35-мм перфорированной ленте, записанные со скоростью 45,6 см/с и используемые в процессе производства кинофильмов, и устанавливает размеры, расположение и нумерацию дорожек записи, а также длину и расположение рабочих зазоров магнитных головок для записи, воспроизведения и стирания фонограмм, технические требования и методы испытаний
Связи и замены
Заменяющий:
-
Взамен:
ГОСТ 8305-57;ГОСТ 12591-67
Изменения и переиздания
Список изменений:
№1 от (рег. ) «Срок действия продлен» №2 от (рег. ) «Срок действия продлен» №3 от (рег. ) «Срок действия продлен»
Описание стандарта
ГОСТ 19869-74 Фонограммы магнитные на 35-мм перфорированной ленте. Размеры и расположение дорожек записи и магнитных головок. Технические требования
Страницы стандарта









