ГОСТ 20492-87 Кассета магнитофонная. Общие технические условия
ГОСТ
Скачать ГОСТ в PDF или DOC бесплатно
Основная информация
Обозначение:
ГОСТ 20492-87
Статус:
Действует
Тип:
ГОСТ
Название русское:
Кассета магнитофонная. Общие технические условия
Название английское:
Tape recorder cassette. General specifications
Даты и сроки
Дата издания:
01-21-88
Дата введения в действие:
01-01-89
Дата завершения срока действия:
-
Применение и описание
Область и условия применения:
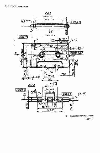
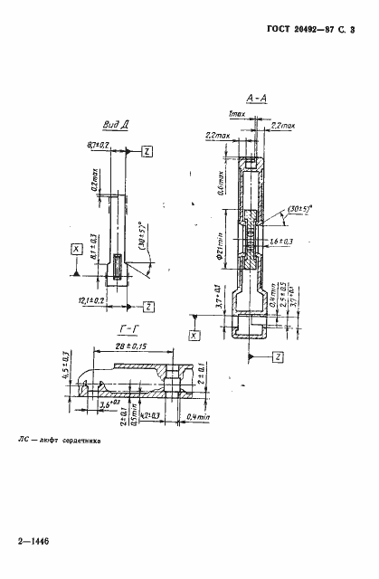
Настоящий стандарт распространяется на магнитофонные кассеты с магнитной лентой шириной 3,81 мм, предназначенные для магнитной записи и воспроизведения в бытовых и автомобильных кассетных магнитофонов
Связи и замены
Заменяющий:
-
Взамен:
ГОСТ 20492-75
Изменения и переиздания
Список изменений:
№1 от (рег. ) «Срок действия продлен» №2 от (рег. ) «Срок действия продлен»
Описание стандарта
ГОСТ 20492-87 Кассета магнитофонная. Общие технические условия
Страницы стандарта














































