ГОСТ Р 52592-2006 Тракт передачи сигналов цифрового вещательного телевидения. Звенья тракта и измерительные сигналы. Общие требования
ГОСТ Р
Скачать ГОСТ в PDF или DOC бесплатно
Основная информация
Обозначение:
ГОСТ Р 52592-2006
Статус:
Действует
Тип:
ГОСТ Р
Название русское:
Тракт передачи сигналов цифрового вещательного телевидения. Звенья тракта и измерительные сигналы. Общие требования
Название английское:
Signal channel of digital broadcast television. Channel parts and measuring signals. General requirements
Даты и сроки
Дата издания:
06-25-20
Дата введения в действие:
01-01-07
Дата завершения срока действия:
-
Применение и описание
Область и условия применения:
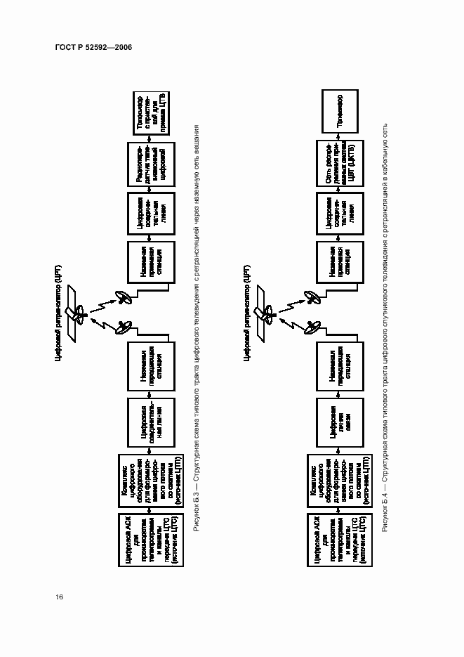
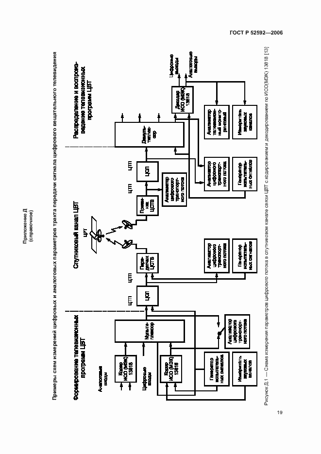
Настоящий стандарт распространяется на тракт передачи сигналов цифрового вещательного телевидения стандартной четкости и устанавливает: - звенья тракта передачи сигналов цифрового вещательного телевидения; - границы звеньев тракта передачи сигналов цифрового вещательного телевидения; - виды интерфейсов тракта, его звеньев и их основные параметры; - измерительные сигналы и их элементы для контроля основных показателей качества тракта передачи сигналов цифрового вещательного телевидения; - основные требования к измерительным сигналам и средствам измерений. Стандарт предназначен для использования при проведении измерений основных параметров трактов передачи сигналов цифрового вещательного телевидения стандартной четкости
Связи и замены
Заменяющий:
-
Описание стандарта
ГОСТ Р 52592-2006 Тракт передачи сигналов цифрового вещательного телевидения. Звенья тракта и измерительные сигналы. Общие требования
Страницы стандарта


































