ГОСТ Р 56955-2016 Телевидение вещательное цифровое. Структура кадра, канальное кодирование и модуляция в системе идентификации несущей (DVB-CID) для спутниковой передачи. Основные параметры
ГОСТ Р
Скачать ГОСТ в PDF или DOC бесплатно
Основная информация
Обозначение:
ГОСТ Р 56955-2016
Статус:
Действует
Тип:
ГОСТ Р
Название русское:
Телевидение вещательное цифровое. Структура кадра, канальное кодирование и модуляция в системе идентификации несущей (DVB-CID) для спутниковой передачи. Основные параметры
Название английское:
Digital Video Broadcasting. Framing structure, channel coding and modulation of a carrier identification system (DVB-CID) for satellite transmission. General parameters
Даты и сроки
Дата издания:
05-18-20
Дата введения в действие:
06-01-17
Дата завершения срока действия:
-
Применение и описание
Область и условия применения:
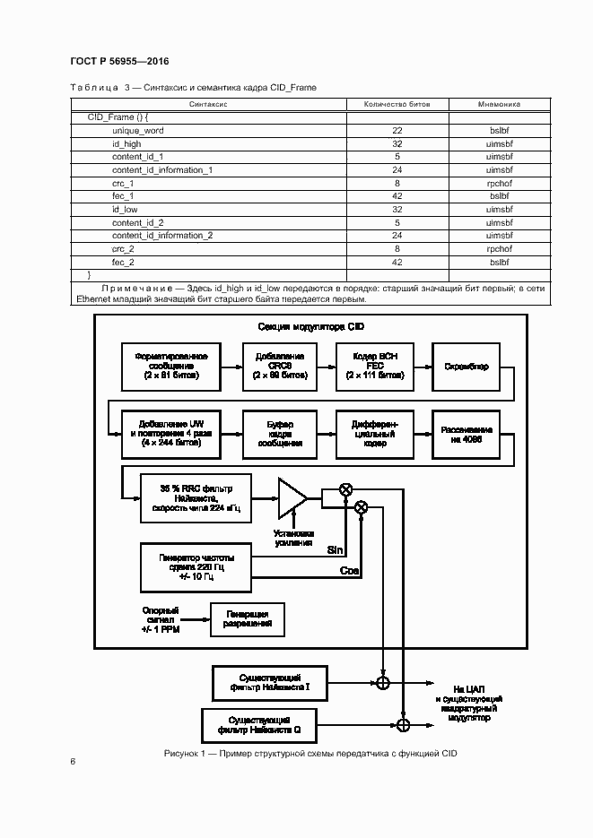
Настоящий стандарт определяет систему модуляции, канального кодирования и протокола сигнализации, предназначенную для идентификации принадлежности сигнала несущей спутниковой передачи. Система идентификации несущей позволяет операторам и пользователям быстро определять принадлежность оборудования, излучающего сигналы помехи вследствие неисправности или ошибок при инсталляции, улучшать качество услуг и сокращать операторские расходы, в долгосрочной перспективе сокращать число случаев проявления радиочастотной интерференции от мешающих сигналов. Требования настоящего стандарта следует учитывать при разработке, изготовлении и эксплуатации передающего оборудования спутниковых сетей
Связи и замены
Заменяющий:
-
Описание стандарта
ГОСТ Р 56955-2016 Телевидение вещательное цифровое. Структура кадра, канальное кодирование и модуляция в системе идентификации несущей (DVB-CID) для спутниковой передачи. Основные параметры
Страницы стандарта


















