ГОСТ Р МЭК 870-4-93 Устройства и системы телемеханики. Часть 4. Технические требования
ГОСТ Р МЭК
Скачать ГОСТ в PDF или DOC бесплатно
Основная информация
Обозначение:
ГОСТ Р МЭК 870-4-93
Статус:
Отменен
Тип:
ГОСТ Р МЭК
Название русское:
Устройства и системы телемеханики. Часть 4. Технические требования
Название английское:
Telecontrol equipment and systems. Part 4. Performance requirements
Даты и сроки
Дата издания:
03-31-94
Дата введения в действие:
01-01-95
Дата завершения срока действия:
01-01-13
Применение и описание
Область и условия применения:
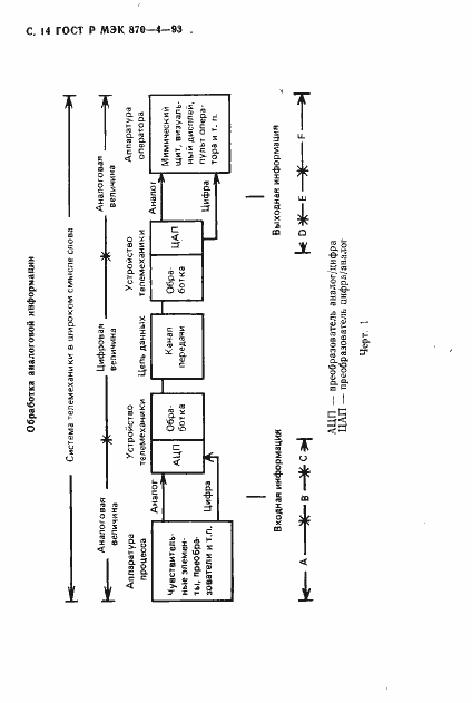
Настоящий стандарт распространяется на устройства и системы телемеханики с последовательной кодированной передачей данных для контроля и управления территориально распределенными процессами
Связи и замены
Заменяющий:
-
Изменения и переиздания
Список изменений:
№0 от (рег. ) «Текстовое изменение; Изменено заглавие»
Описание стандарта
ГОСТ Р МЭК 870-4-93 Устройства и системы телемеханики. Часть 4. Технические требования
Страницы стандарта





























