ГОСТ 28147-89 Системы обработки информации. Защита криптографическая. Алгоритм криптографического преобразования
ГОСТ
Скачать ГОСТ в PDF или DOC бесплатно
Основная информация
Обозначение:
ГОСТ 28147-89
Статус:
Отменен
Тип:
ГОСТ
Название русское:
Системы обработки информации. Защита криптографическая. Алгоритм криптографического преобразования
Название английское:
-
Даты и сроки
Дата издания:
04-01-96
Дата введения в действие:
06-30-90
Дата завершения срока действия:
06-01-19
Применение и описание
Область и условия применения:
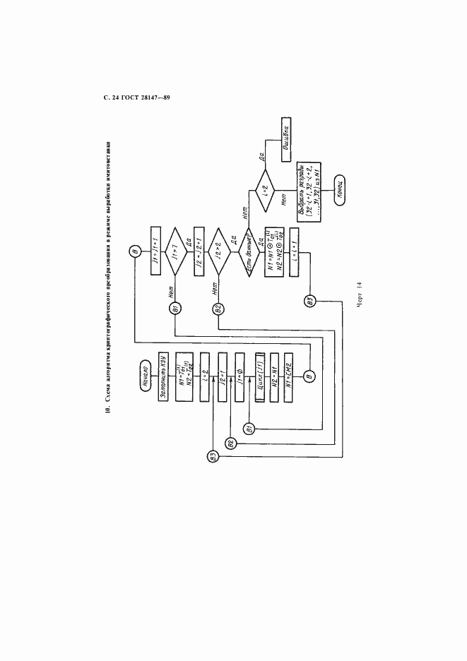
Настоящий стандарт устанавливает единый алгоритм криптографического преобразования для систем обработки информации в сетях электронных вычислительных машин (ЭВМ), отдельных вычислительных комплексах и ЭВМ, который определяет правила шифрования данных и выработки имитовставки
Связи и замены
Заменяющий:
ГОСТ 34.13-2018 в части раздела 2, 3, 4, 5;ГОСТ 34.12-2018 в части раздела 1
Заменяющий в части:
ГОСТ 34.12-2018 в части раздела 1; ГОСТ 34.13-2018 в части раздела 2, 3, 4, 5
Изменения и переиздания
Список изменений:
№0 от (рег. ) «Срок действия продлен»
Описание стандарта
ГОСТ 28147-89 Системы обработки информации. Защита криптографическая. Алгоритм криптографического преобразования
Страницы стандарта



























