ГОСТ 28195-89 Оценка качества программных средств. Общие положения
ГОСТ
Скачать ГОСТ в PDF или DOC бесплатно
Основная информация
Обозначение:
ГОСТ 28195-89
Статус:
Действует
Тип:
ГОСТ
Название русское:
Оценка качества программных средств. Общие положения
Название английское:
Quality control of software systems. General principles
Даты и сроки
Дата издания:
09-01-01
Дата введения в действие:
06-30-90
Дата завершения срока действия:
-
Применение и описание
Область и условия применения:
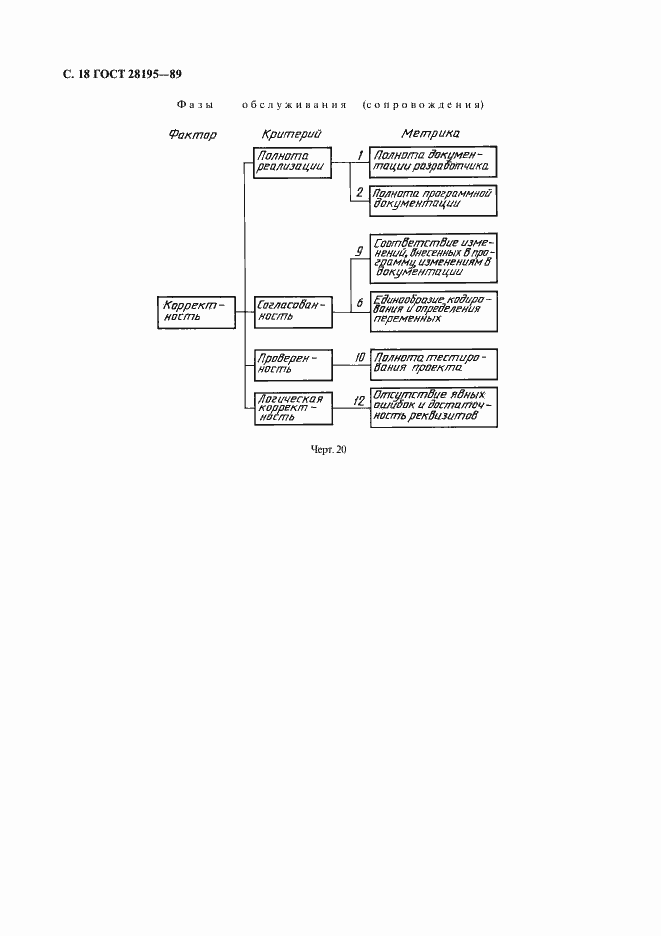
Настоящий стандарт устанавливает общие положения по оценке качества программных средств вычислительной техники (далее - ПС), поставляемых через фонды алгоритмов и программ (ФАП), номенклатуру и применяемость показателей качества ПС
Связи и замены
Заменяющий:
-
Описание стандарта
ГОСТ 28195-89 Оценка качества программных средств. Общие положения
Страницы стандарта






























