ГОСТ Р 53798-2010 Стандартное руководство по лабораторным информационным менеджмент-системам (ЛИМС)
ГОСТ Р
Скачать ГОСТ в PDF или DOC бесплатно
Основная информация
Обозначение:
ГОСТ Р 53798-2010
Статус:
Действует
Тип:
ГОСТ Р
Название русское:
Стандартное руководство по лабораторным информационным менеджмент-системам (ЛИМС)
Название английское:
Standard guide for laboratory information management systems (LIMS)
Даты и сроки
Дата издания:
11-11-10
Дата введения в действие:
10-01-10
Дата завершения срока действия:
-
Применение и описание
Область и условия применения:
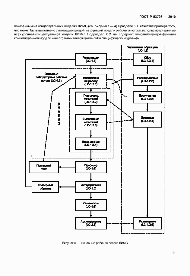
В настоящем стандарте рассматриваются проблемы, возникающие, как правило, на всех стадиях жизненного цикла лабораторных информационных менеджмент-систем (ЛИМС) от начала их эксплуатации и до изъятия из эксплуатации. Подразделы настоящего стандарта также содержат детальное описание возможностей ЛИМС при применении в конкретных областях промышленности и хозяйственной деятельности
Связи и замены
Заменяющий:
-
Описание стандарта
ГОСТ Р 53798-2010 Стандартное руководство по лабораторным информационным менеджмент-системам (ЛИМС)
Страницы стандарта













































































