ГОСТ Р ИСО/МЭК МФС 11185-2-98 Информационная технология. Функциональный стандарт. Профили FVT2nn. Базовый класс виртуальных терминалов. Регистр определений типов объектов управления. Часть 2. FVT213, FVT214 - упорядоченные и неупорядоченные терминальные объекты управления
ГОСТ Р ИСО/МЭК МФС
Скачать ГОСТ в PDF или DOC бесплатно
Основная информация
Обозначение:
ГОСТ Р ИСО/МЭК МФС 11185-2-98
Статус:
Действует
Тип:
ГОСТ Р ИСО/МЭК МФС
Название русское:
Информационная технология. Функциональный стандарт. Профили FVT2nn. Базовый класс виртуальных терминалов. Регистр определений типов объектов управления. Часть 2. FVT213, FVT214 - упорядоченные и неупорядоченные терминальные объекты управления
Название английское:
Information technology. International standardized profiles FVT2nn. Virtual terminal basic class. Register of control object type definitions. Part 2. FVT213, FVT214 - sequenced and unsequenced terminal control objects
Даты и сроки
Дата издания:
03-11-99
Дата введения в действие:
07-01-99
Дата завершения срока действия:
-
Применение и описание
Область и условия применения:
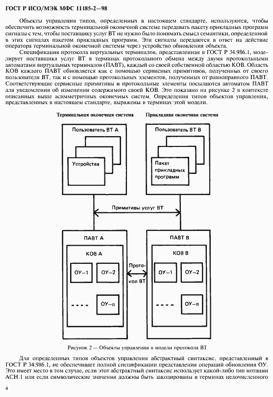
Настоящий стандарт определен в контексте функциональной стандартизации в соответствии с принципами, определенными в ГОСТ Р ИСО/МЭК ТО 10000-1. Контекст функциональной стандартизации - это одна из частей общей сферы деятельности в области информационных технологии, охватывающей базовые стандарты, профили и механизмы регистрации. В стандарте взаимосвязи открытых систем (ВОС) ГОСТ Р ИСО 9040 по услугам виртуальных терминалов (ВТ) базового класса приведены требования к международному регистру определений типов объектов управления ВТ. Процедуры операций этого регистра представлены в ИСО/МЭК 9834-5. Настоящий стандарт содержит такой регистр. Отдельные элементы регистра образуют профили формата обмена и представления данных ( профили F), определенные в ГОСТ Р ИСО/МЭК ТО 10000-1. Настоящий стандарт определяет два типа объектов управления, которые могут использоваться для передачи неинтерпретируемых сигналов управления устройствами из терминальной оконечной системы в прикладную оконечную систему. Один из типов используется для передачи этих сигналов в упорядоченной последовательности с другими данными. Другой тип используется для срочной передачи этих сигналов, когда не требуется поддерживать их упорядоченную последовательность с другими данными
Связи и замены
Заменяющий:
-
Описание стандарта
ГОСТ Р ИСО/МЭК МФС 11185-2-98 Информационная технология. Функциональный стандарт. Профили FVT2nn. Базовый класс виртуальных терминалов. Регистр определений типов объектов управления. Часть 2. FVT213, FVT214 - упорядоченные и неупорядоченные терминальные объекты управления
Страницы стандарта



















