ГОСТ Р 34.90-93 Информационная технология. Передача данных и обмен информацией между системами. Протокольные комбинации для обеспечения и поддержки услуг сетевого уровня ВОС
ГОСТ Р
Скачать ГОСТ в PDF или DOC бесплатно
Основная информация
Обозначение:
ГОСТ Р 34.90-93
Статус:
Действует
Тип:
ГОСТ Р
Название русское:
Информационная технология. Передача данных и обмен информацией между системами. Протокольные комбинации для обеспечения и поддержки услуг сетевого уровня ВОС
Название английское:
Information technology. Telecommunications and information exchange between systems. Protocol combinations to provide and support the OSI Network Service
Даты и сроки
Дата издания:
04-01-94
Дата введения в действие:
01-01-95
Дата завершения срока действия:
-
Применение и описание
Область и условия применения:
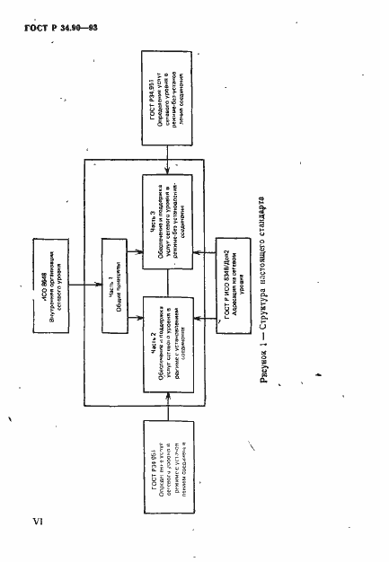
Задача настоящего стандарта состоит в том, чтобы обеспечить единый справочный источник информации относительно способов возможного использования протоколов сетевого уровня для обеспечения услуг сетевого уровня ВОС в различных конфигурациях. В настоящем стандарте излагается применение архитектуры сетевого уровня, изложенной в ИСО 8648, а также стандартизованных в международном и национальном масштабах протоколов сетевого уровня для обеспечения услуг сетевого уровня в реальных применениях. В 1-й части стандарта определяются способ обеспечения и поддержки услуг сетевого уровня, критерии для включения протокольных комбинаций, излагается формулировка принципов соответствия, которые упорядочивают конкретные требования к соответствию, определенные в двух других частях. Во 2-й части описывается обеспечение и поддержка услуг сетевого уровня в режиме-с-установлением-соединения протоколами сетевого уровня. В 3-й части описывается обеспечение и поддержка услуг сетевого уровня в режиме-без-установления-соединения.В тех случаях, когда какая-либо конфигурация не поддерживает услуг сетевого уровня ВОС соответствующего режима, она не входит в область распространения настоящего стандарта
Связи и замены
Заменяющий:
-
Описание стандарта
ГОСТ Р 34.90-93 Информационная технология. Передача данных и обмен информацией между системами. Протокольные комбинации для обеспечения и поддержки услуг сетевого уровня ВОС
Страницы стандарта























