ГОСТ 27817-88 Системы обработки информации. Машинная графика. Функциональное описание ядра графической системы
ГОСТ
Скачать ГОСТ в PDF или DOC бесплатно
Основная информация
Обозначение:
ГОСТ 27817-88
Статус:
Действует
Тип:
ГОСТ
Название русское:
Системы обработки информации. Машинная графика. Функциональное описание ядра графической системы
Название английское:
Information processing systems. Computer graphics. Functional description of graphical kernel system
Даты и сроки
Дата издания:
02-06-89
Дата введения в действие:
06-30-89
Дата завершения срока действия:
-
Применение и описание
Область и условия применения:
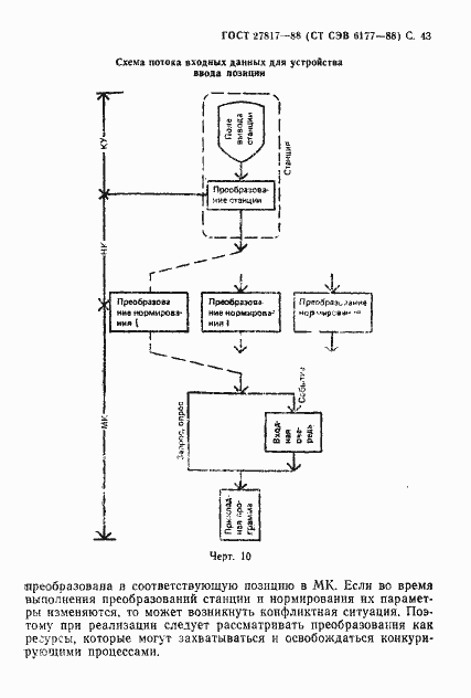
Настоящий стандарт распространяется на программные и технические средства машинной графики, реализующие и использующие ядро графической системы, и устанавливает общие положения, концепции ядра графической системы, структуру данных и функции ядра графической системы, используемые в системах автоматизированного проектирования, в автоматизированных системх управления и других областях, где применяются средства машинной графики
Связи и замены
Заменяющий:
-
Описание стандарта
ГОСТ 27817-88 Системы обработки информации. Машинная графика. Функциональное описание ядра графической системы
Страницы стандарта








































































































































































































































































































