ГОСТы >
35.180 Информационно-технологические терминалы и другие периферийные устройства >
ГОСТ Р ИСО/МЭК ТО 10032-2007
ГОСТ Р ИСО/МЭК ТО 10032-2007 Эталонная модель управления данными
ГОСТ Р ИСО/МЭК ТО
Скачать ГОСТ в PDF или DOC бесплатно
Основная информация
Обозначение:
ГОСТ Р ИСО/МЭК ТО 10032-2007
Статус:
Действует
Тип:
ГОСТ Р ИСО/МЭК ТО
Название русское:
Эталонная модель управления данными
Название английское:
Reference model of data management
Даты и сроки
Дата издания:
02-03-09
Дата введения в действие:
09-01-08
Дата завершения срока действия:
-
Применение и описание
Область и условия применения:
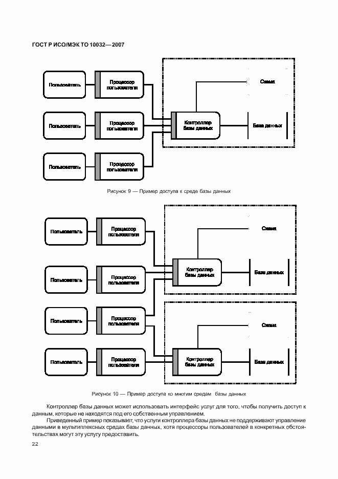
Настоящий стандарт устанавливает эталонную модель управления данными, разработанную ИСО, и структуру, необходимую для координации и разработки действующих и будущих стандартов в области управления постоянными данными в информационных системах. Стандарт устанавливает общую терминологию и основные понятия, относящиеся ко всем данным информационных систем. Такие поняти используют для определения более специфических услуг, предоставляемых специальными компонентами управления данных, например системами управления базами данных или системами словарей данных. Определение подобных взаимосвязанных услуг идентифицирует интерфейсы, которые могут стать предметом будущих стандартов
Связи и замены
Заменяющий:
-
Описание стандарта
ГОСТ Р ИСО/МЭК ТО 10032-2007 Эталонная модель управления данными
Страницы стандарта












































