ГОСТ Р ИСО/МЭК 9072-1-93 Системы обработки информации. Передача текста. Удаленные операции. Часть 1. Модель, нотация и определение услуг
ГОСТ Р ИСО/МЭК
Скачать ГОСТ в PDF или DOC бесплатно
Основная информация
Обозначение:
ГОСТ Р ИСО/МЭК 9072-1-93
Статус:
Действует
Тип:
ГОСТ Р ИСО/МЭК
Название русское:
Системы обработки информации. Передача текста. Удаленные операции. Часть 1. Модель, нотация и определение услуг
Название английское:
Information processing systems. Text communication. Remote operations. Part 1. Model, notation and service definition
Даты и сроки
Дата издания:
04-13-94
Дата введения в действие:
06-30-94
Дата завершения срока действия:
-
Применение и описание
Область и условия применения:
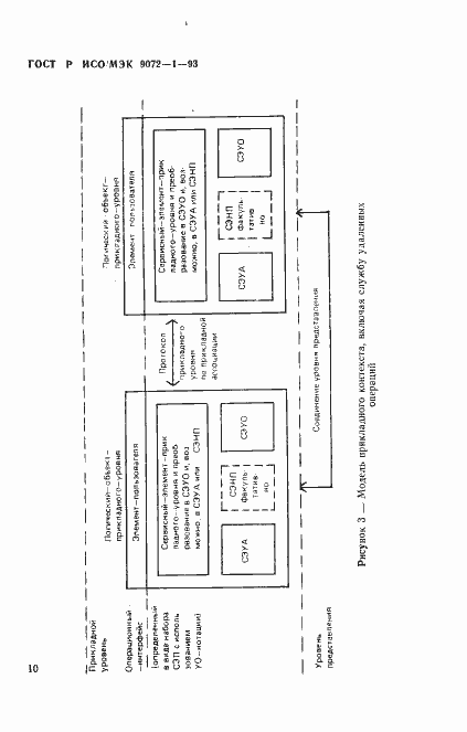
Настоящий стандарт содержит определение нотации удаленных операций (УО) с целью определения услуг, создаваемых для интерактивных применений. В настоящем стандарте определяются также услуги, обеспечиваемые сервисным элементом удаленных операций (СЭУО). Услуги СЭУО обеспечиваются путем использования протокола СЭУО совместно с услугами сервисного элемента управления ассоциацией (СЭУА), протоколом СЭУА, факультативно с услугами сервисного элемента надежной передачи (СЭНП) и протоколом СЭНП, а также с услугами-уровня-представления. Относительно соответствия настоящему стандарту никаких требований не предъявляется
Связи и замены
Заменяющий:
-
Описание стандарта
ГОСТ Р ИСО/МЭК 9072-1-93 Системы обработки информации. Передача текста. Удаленные операции. Часть 1. Модель, нотация и определение услуг
Страницы стандарта

























































