ГОСТ Р 50596-93 Система информационно-управляющая для обеспечения технической эксплуатации воздушных судов. Основные положения
ГОСТ Р
Скачать ГОСТ в PDF или DOC бесплатно
Основная информация
Обозначение:
ГОСТ Р 50596-93
Статус:
Действует
Тип:
ГОСТ Р
Название русское:
Система информационно-управляющая для обеспечения технической эксплуатации воздушных судов. Основные положения
Название английское:
Data management system for aircraft maintenance facility. Basic principles
Даты и сроки
Дата издания:
12-14-93
Дата введения в действие:
06-30-94
Дата завершения срока действия:
-
Применение и описание
Область и условия применения:
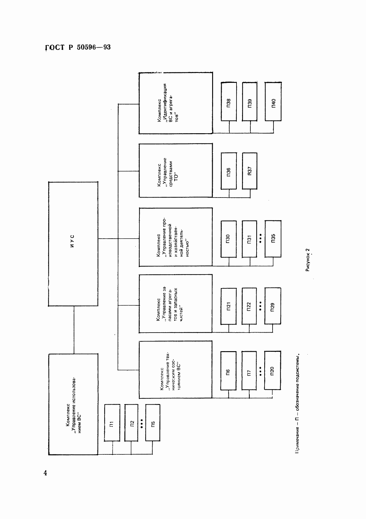
Настоящий стандарт распространяется на информационно-управляющие системы (ИУС), предназначенные для оснащения авиационных эксплуатирующих предприятий в целях информационного обеспечения и решения задач управления эксплуатацией и техническим обслуживанием воздушных судов . Настоящий стандарт устанавливает требования, определяющие назначение, структуру, состав, функции и задачи ИУС
Связи и замены
Заменяющий:
-
Описание стандарта
ГОСТ Р 50596-93 Система информационно-управляющая для обеспечения технической эксплуатации воздушных судов. Основные положения
Страницы стандарта





















