ГОСТ Р 50133-92 Красящие ленты на бумажной или полимерной основе. Характеристики сердечников
ГОСТ Р
Скачать ГОСТ в PDF или DOC бесплатно
Основная информация
Обозначение:
ГОСТ Р 50133-92
Статус:
Действует
Тип:
ГОСТ Р
Название русское:
Красящие ленты на бумажной или полимерной основе. Характеристики сердечников
Название английское:
Paper or plastic printing ribbons. Characteristics of cores
Даты и сроки
Дата издания:
10-22-92
Дата введения в действие:
01-01-93
Дата завершения срока действия:
-
Применение и описание
Область и условия применения:
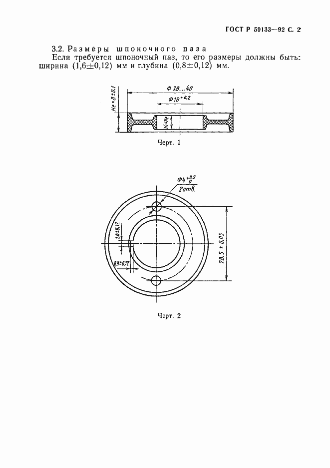
Настоящий стандарт распространяется на сердечники катушек, предназначенных для красящих лент шириной 8 мм на бумажной или полимерной основе, применяемых в пишущих и печатных устройствах систем информационной технологии и устанавливает основные размеры сердечников
Связи и замены
Заменяющий:
-
Описание стандарта
ГОСТ Р 50133-92 Красящие ленты на бумажной или полимерной основе. Характеристики сердечников
Страницы стандарта



