ГОСТ 13.1.106-76 Репрография. Микрография. Карты апертурные. Общие технические условия
ГОСТ
Скачать ГОСТ в PDF или DOC бесплатно
Основная информация
Обозначение:
ГОСТ 13.1.106-76
Статус:
Действует
Тип:
ГОСТ
Название русское:
Репрография. Микрография. Карты апертурные. Общие технические условия
Название английское:
Reprography. Micrography. Cards with picture aperture. General specifications
Даты и сроки
Дата издания:
06-01-87
Дата введения в действие:
06-30-77
Дата завершения срока действия:
-
Применение и описание
Область и условия применения:
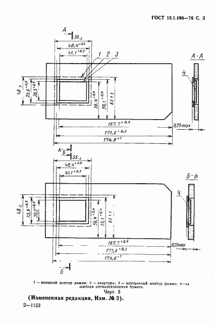
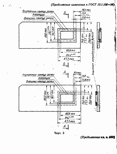
Настоящий стандарт распространяется на апертурные карты, выполненные на основе перфорационных карт для электронных вычислительных машин
Связи и замены
Заменяющий:
-
Изменения и переиздания
Список изменений:
№1 от (рег. ) «Срок действия продлен» №2 от (рег. ) «Срок действия продлен» №3 от (рег. ) «Срок действия продлен» №4 от (рег. ) «Срок действия продлен» №5 от (рег. ) «Срок действия продлен»
Описание стандарта
ГОСТ 13.1.106-76 Репрография. Микрография. Карты апертурные. Общие технические условия
Страницы стандарта




























