ГОСТ Р ИСО 6313-93 Транспорт дорожный. Накладки тормозные. Метод определения влияния тепла на размеры и форму накладок дискового тормоза
ГОСТ Р ИСО
Скачать ГОСТ в PDF или DOC бесплатно
Основная информация
Обозначение:
ГОСТ Р ИСО 6313-93
Статус:
Действует
Тип:
ГОСТ Р ИСО
Название русское:
Транспорт дорожный. Накладки тормозные. Метод определения влияния тепла на размеры и форму накладок дискового тормоза
Название английское:
Road vehicles. Brake linings. Effects of heat on dimensions and form of disc brake pads. Test procedure
Даты и сроки
Дата издания:
06-10-93
Дата введения в действие:
01-01-94
Дата завершения срока действия:
-
Применение и описание
Область и условия применения:
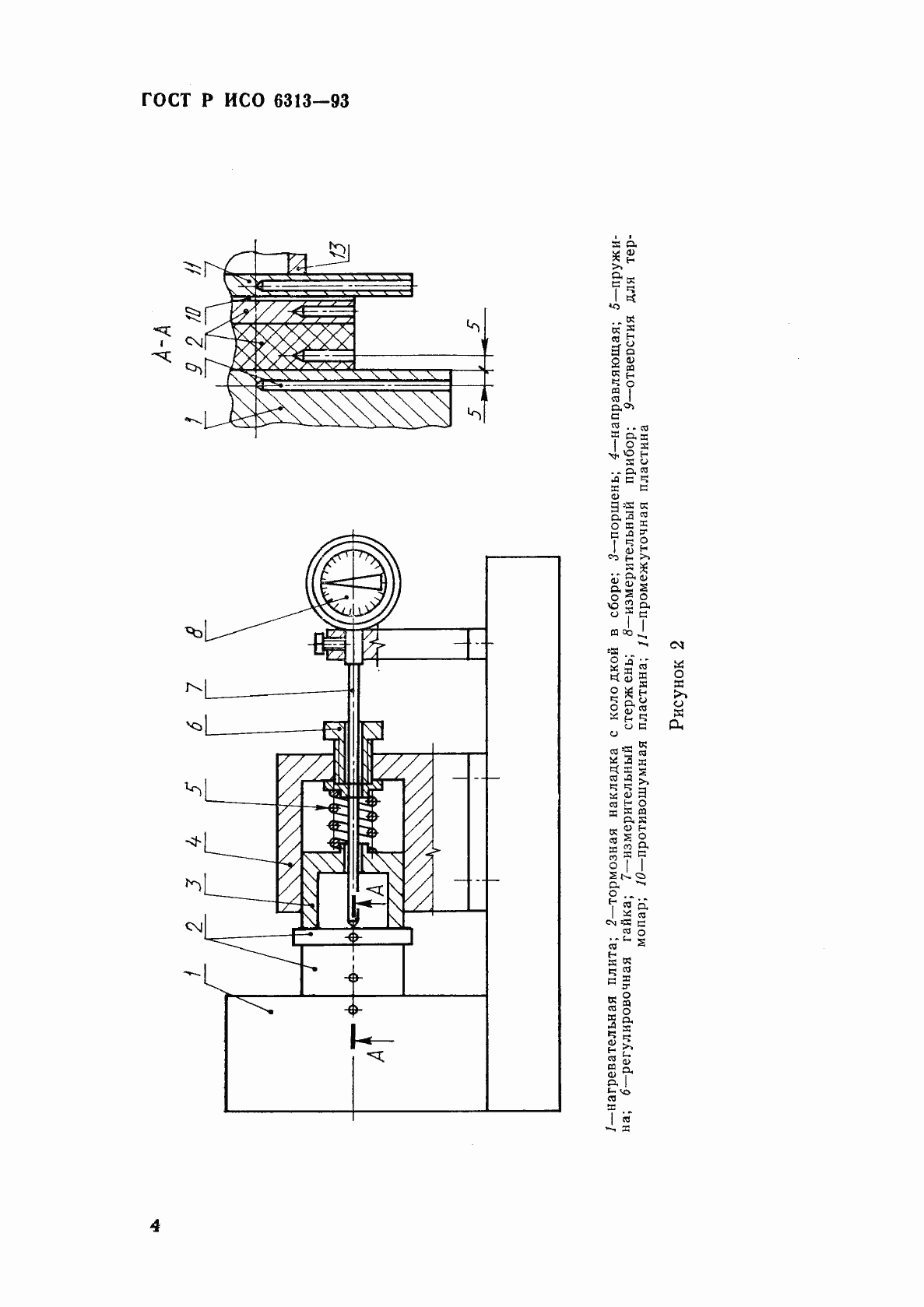
Настоящий стандарт устанавливает комбинированный метод испытаний накладок дисковых тормозов с целью определения влияния температуры на их размеры, а также способности накладок оказывать сопротивление передачи тепла в направлении прилагаемого давления. Настоящий стандарт распространяется на накладки дисковых тормозов и определяет их размеры: толщину и размеры контура накладки, когда их отклонение может вызвать нарушение работы тормоза. Размеры накладок дискового тормоза, формованных на основе связующего, не должны превышать 80 мм по высоте, 120 мм по ширине и 20 мм по толщине. Если размеры накладок превышают указанные, из обрезают или шлифуют. Колодку изготовляют из твердого материала
Связи и замены
Заменяющий:
-
Описание стандарта
ГОСТ Р ИСО 6313-93 Транспорт дорожный. Накладки тормозные. Метод определения влияния тепла на размеры и форму накладок дискового тормоза
Страницы стандарта










