ГОСТ 1142-90 Повозки конные грузовые. Общие технические условия
ГОСТ
Скачать ГОСТ в PDF или DOC бесплатно
Основная информация
Обозначение:
ГОСТ 1142-90
Статус:
Действует
Тип:
ГОСТ
Название русское:
Повозки конные грузовые. Общие технические условия
Название английское:
Horse-driven load carriages. Specifications
Даты и сроки
Дата издания:
11-26-90
Дата введения в действие:
06-30-91
Дата завершения срока действия:
-
Применение и описание
Область и условия применения:
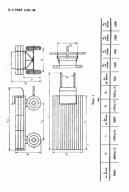
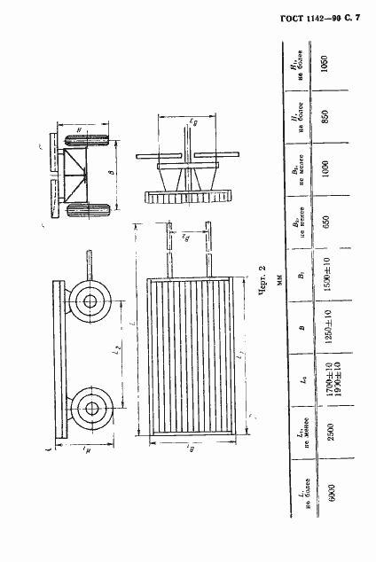
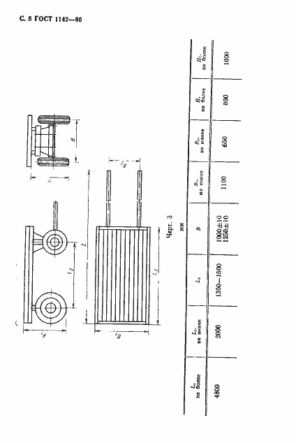
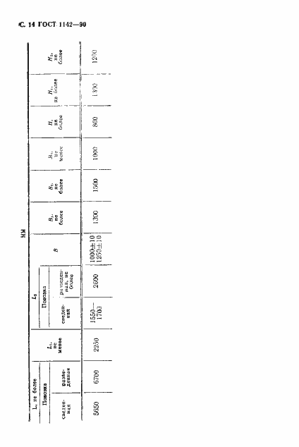
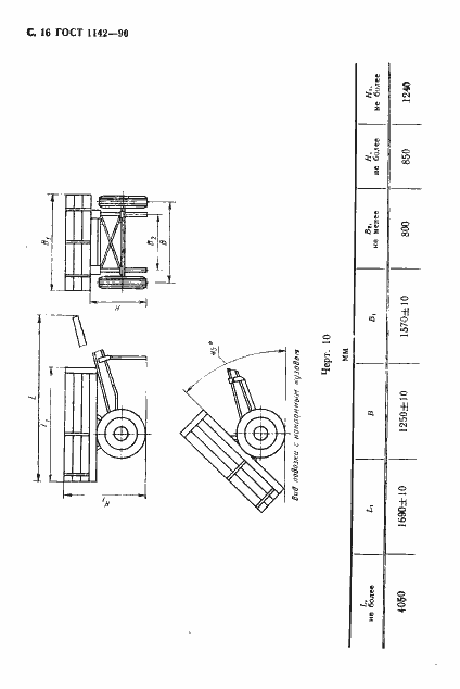
Настоящий стандарт распространяется на конные грузовые повозки, предназначенные для перевозки различных грузов и людей. Стандарт не распространяется на легковые, спортивные, прогулочные и национальные повозки
Связи и замены
Заменяющий:
-
Взамен:
ГОСТ 1142-84
Описание стандарта
ГОСТ 1142-90 Повозки конные грузовые. Общие технические условия
Страницы стандарта

































