ГОСТ 27352-87 Автотранспортные средства для заправки и транспортирования нефтепродуктов. Типы, параметры и общие технические требования
ГОСТ
Скачать ГОСТ в PDF или DOC бесплатно
Основная информация
Обозначение:
ГОСТ 27352-87
Статус:
Утратил силу в РФ
Тип:
ГОСТ
Название русское:
Автотранспортные средства для заправки и транспортирования нефтепродуктов. Типы, параметры и общие технические требования
Название английское:
Road vehicles for fueling and transportation of oil and detroleum products. Types parameters and general specification
Даты и сроки
Дата издания:
07-01-90
Дата введения в действие:
01-01-89
Дата завершения срока действия:
01-01-97
Применение и описание
Область и условия применения:
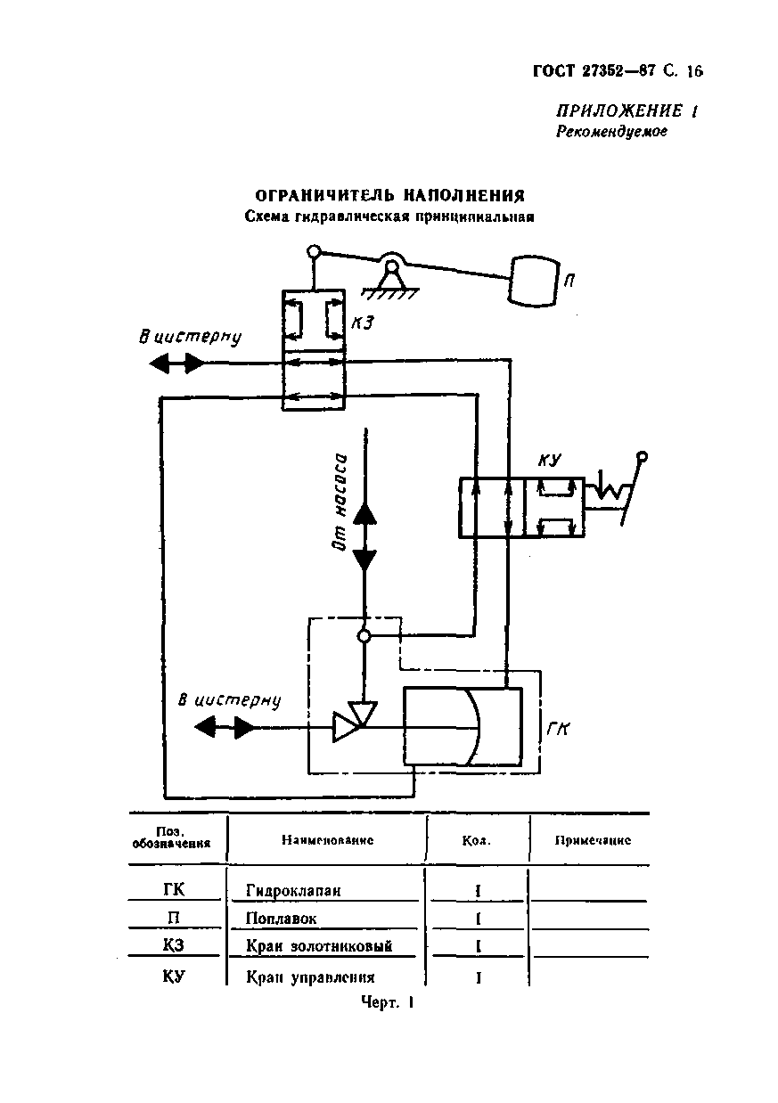
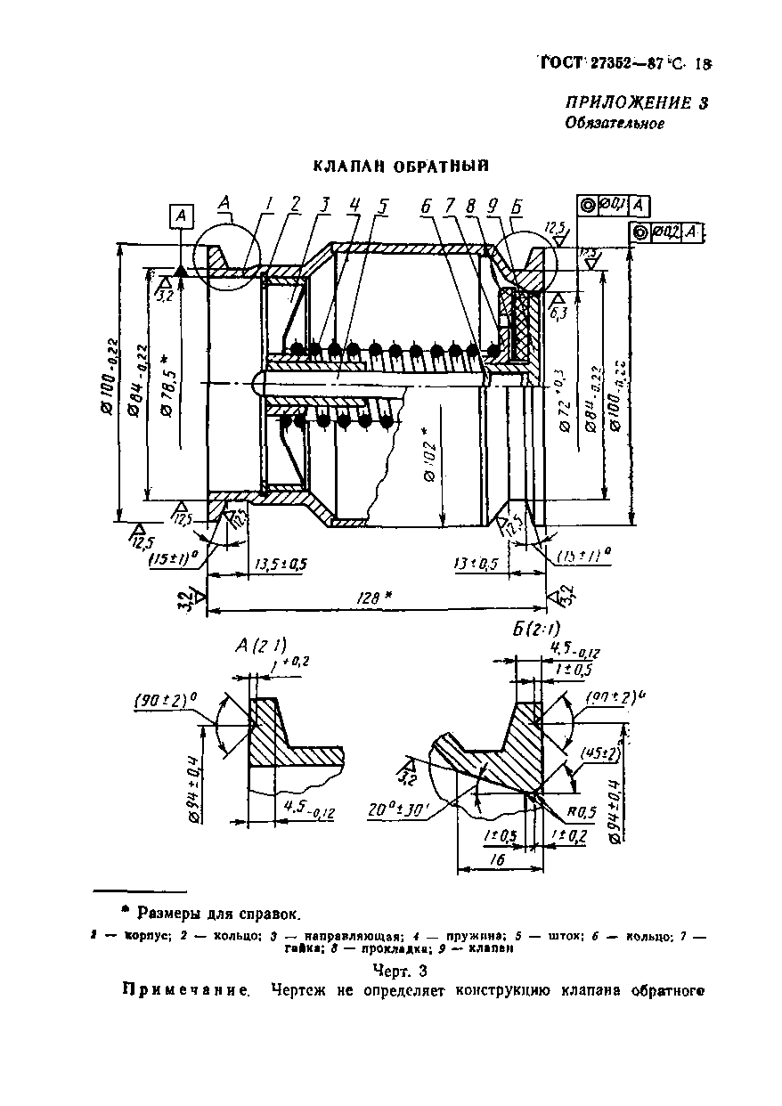
Настоящий стандарт распространяется на специализированные автотранспортные средства, предназначенные для заправки и транспортирования нефтепродуктов, исполнения У по ГОСТ 15150-69. Стандарт не распространяется на автоцистерны, предназначенные для транспортирования сжатых и сжиженных газов и специальных жидкостей для наземного обслуживания летательных аппаратов (самолетов и вертолетов) , на автомагазины и передвижные автозаправочные станции для розничной торговли нефтепродуктами, а также на автоцистерны, поставленные на производство до 1991 г. 1. Типы и основные параметры 2. Технические требования
Связи и замены
Заменяющий:
-
Изменения и переиздания
Список изменений:
№0 от (рег. ) «Поправка к изменению» №1 от (рег. ) «Срок действия продлен»
Описание стандарта
ГОСТ 27352-87 Автотранспортные средства для заправки и транспортирования нефтепродуктов. Типы, параметры и общие технические требования
Страницы стандарта























