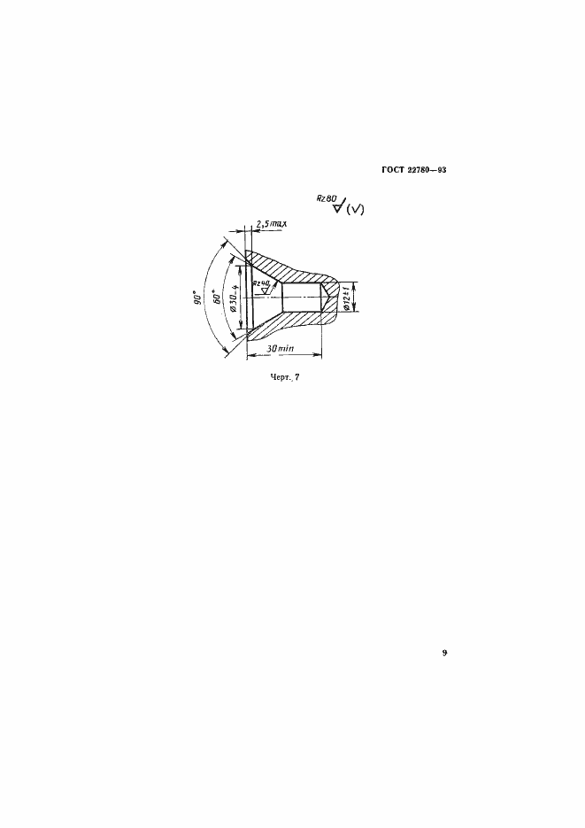
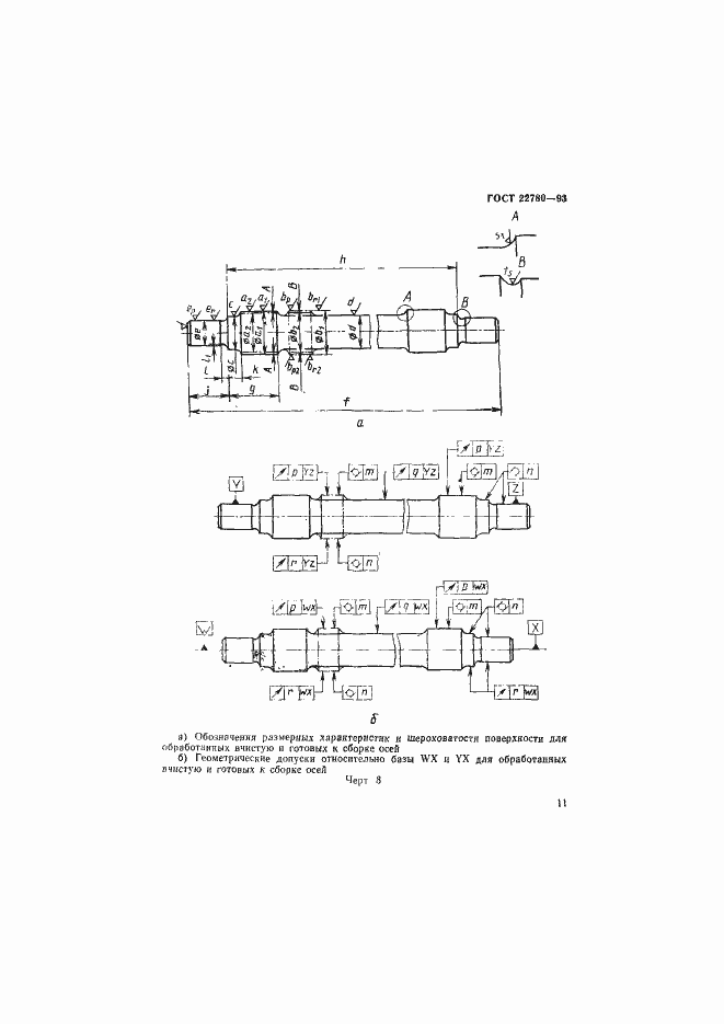
ГОСТ 22780-93 Оси для вагонов железных дорог колеи 1520 (1524) мм. Типы, параметры и размеры
ГОСТ
Скачать ГОСТ в PDF или DOC бесплатно
Основная информация
Обозначение:
ГОСТ 22780-93
Статус:
Заменен
Тип:
ГОСТ
Название русское:
Оси для вагонов железных дорог колеи 1520 (1524) мм. Типы, параметры и размеры
Название английское:
Car axles for 1520 (1524) mm gauge main-line railways. Types, parameters and dimensions
Даты и сроки
Дата регистрации:
10-21-93
Дата издания:
06-19-95
Дата введения в действие:
01-01-95
Дата завершения срока действия:
04-01-16
Применение и описание
Область и условия применения:
Настоящий стандарт распространяется на оси колесных пар груховых и пассажирских вагонов, вагонов электропоездов и немоторных вагонов дизель-поездов магистральных железных дорог колеи 1520 (1524) мм. Стандарт не распространяется на оси, предназначенные для ремонта колесных пар
Связи и замены
Заменяющий:
ГОСТ 33200-2014
Взамен:
ГОСТ 22780-77
Изменения и переиздания
Список изменений:
№0 от (рег. ) «Восстановлен на территории РФ»
Описание стандарта
ГОСТ 22780-93 Оси для вагонов железных дорог колеи 1520 (1524) мм. Типы, параметры и размеры
Страницы стандарта



















