ГОСТ Р 55819-2013 Башмаки и чеки тормозных колодок железнодорожного подвижного состава. Общие технические условия
ГОСТ Р
Скачать ГОСТ в PDF или DOC бесплатно
Основная информация
Обозначение:
ГОСТ Р 55819-2013
Статус:
Отменен
Тип:
ГОСТ Р
Название русское:
Башмаки и чеки тормозных колодок железнодорожного подвижного состава. Общие технические условия
Название английское:
Brake block holder and key for railway rolling stock. General specifications
Даты и сроки
Дата издания:
10-16-14
Дата введения в действие:
09-01-14
Дата завершения срока действия:
01-01-18
Применение и описание
Область и условия применения:
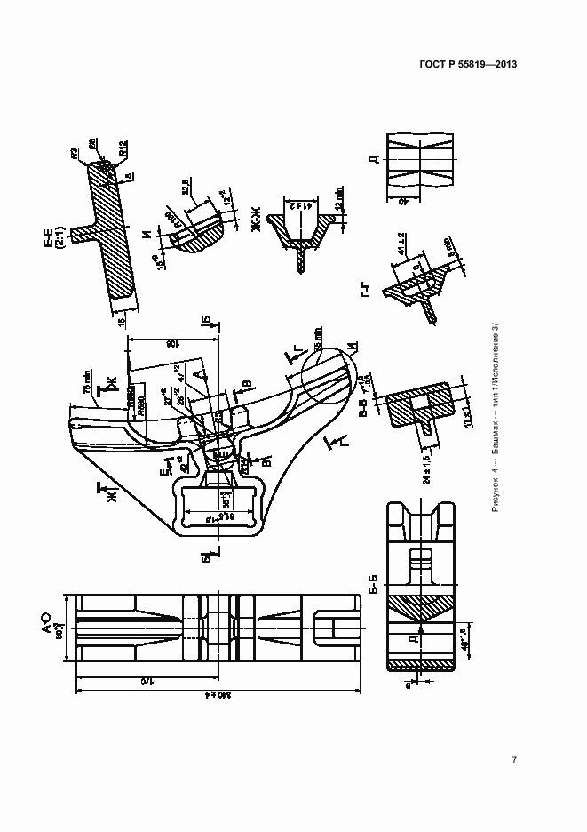
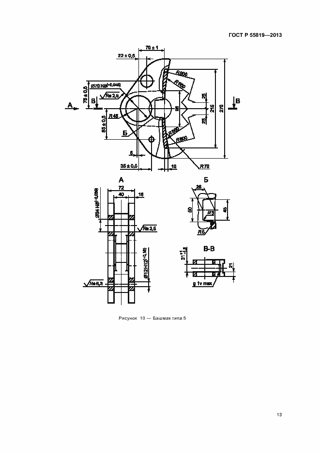
Настоящий стандарт распространяется на башмаки и чеки тормозных колодок (далее - башмаки, чеки и колодки соответственно) для локомотивов, грузовых вагонов, пассажирских вагонов локомотивной тяги, моторвагонного (далее - МВПС) и специального самоходного и несамоходного подвижного состава (далее - СПС) и устанавливает общие технические условия к ним
Связи и замены
Заменяющий:
-
Изменения и переиздания
Список изменений:
№0 от (рег. ) «Текстовое изменение; Изменено заглавие»
Описание стандарта
ГОСТ Р 55819-2013 Башмаки и чеки тормозных колодок железнодорожного подвижного состава. Общие технические условия
Страницы стандарта





























