ГОСТ 33434-2015 Устройство сцепное и автосцепное железнодорожного подвижного состава. Технические требования и правила приемки
ГОСТ
Скачать ГОСТ в PDF или DOC бесплатно
Основная информация
Обозначение:
ГОСТ 33434-2015
Статус:
Действует
Тип:
ГОСТ
Название русское:
Устройство сцепное и автосцепное железнодорожного подвижного состава. Технические требования и правила приемки
Название английское:
Coupler and automatic coupler device of railway rolling stock. Technical requirements and acceptance rules
Даты и сроки
Дата регистрации:
08-27-15
Дата издания:
09-18-19
Дата введения в действие:
09-01-16
Дата завершения срока действия:
-
Применение и описание
Область и условия применения:
Настоящий стандарт распространяется на сцепные и автосцепные устройства железнодорожного подвижного состава, предназначенного для эксплуатации на железных дорогах колеи 1520 мм и устанавливает технические требования и правила приемки
Связи и замены
Заменяющий:
-
Изменения и переиздания
Список изменений:
№0 от (рег. ) «Дата введения перенесена»
Описание стандарта
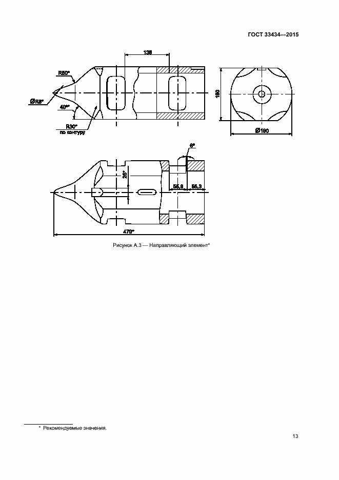
ГОСТ 33434-2015 Устройство сцепное и автосцепное железнодорожного подвижного состава. Технические требования и правила приемки
Страницы стандарта


















Приложение №1: Поправка к ГОСТ 33434-2015 Обозначение: Поправка к ГОСТ 33434-2015 Дата введения в действие: 31.08.2016

Приложение №2: Поправка к ГОСТ 33434-2015 Обозначение: Поправка к ГОСТ 33434-2015 Дата введения в действие: 26.03.2019
