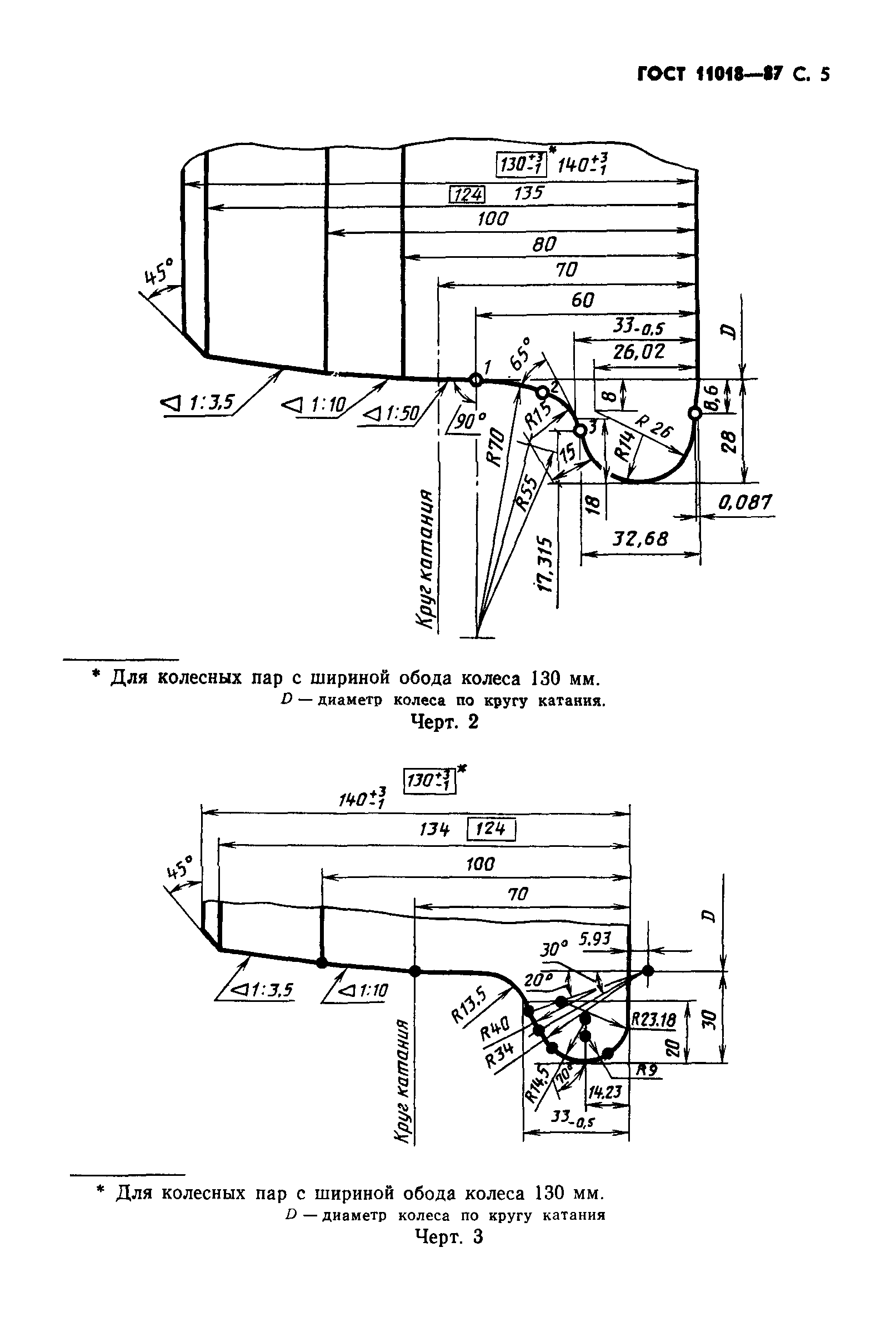
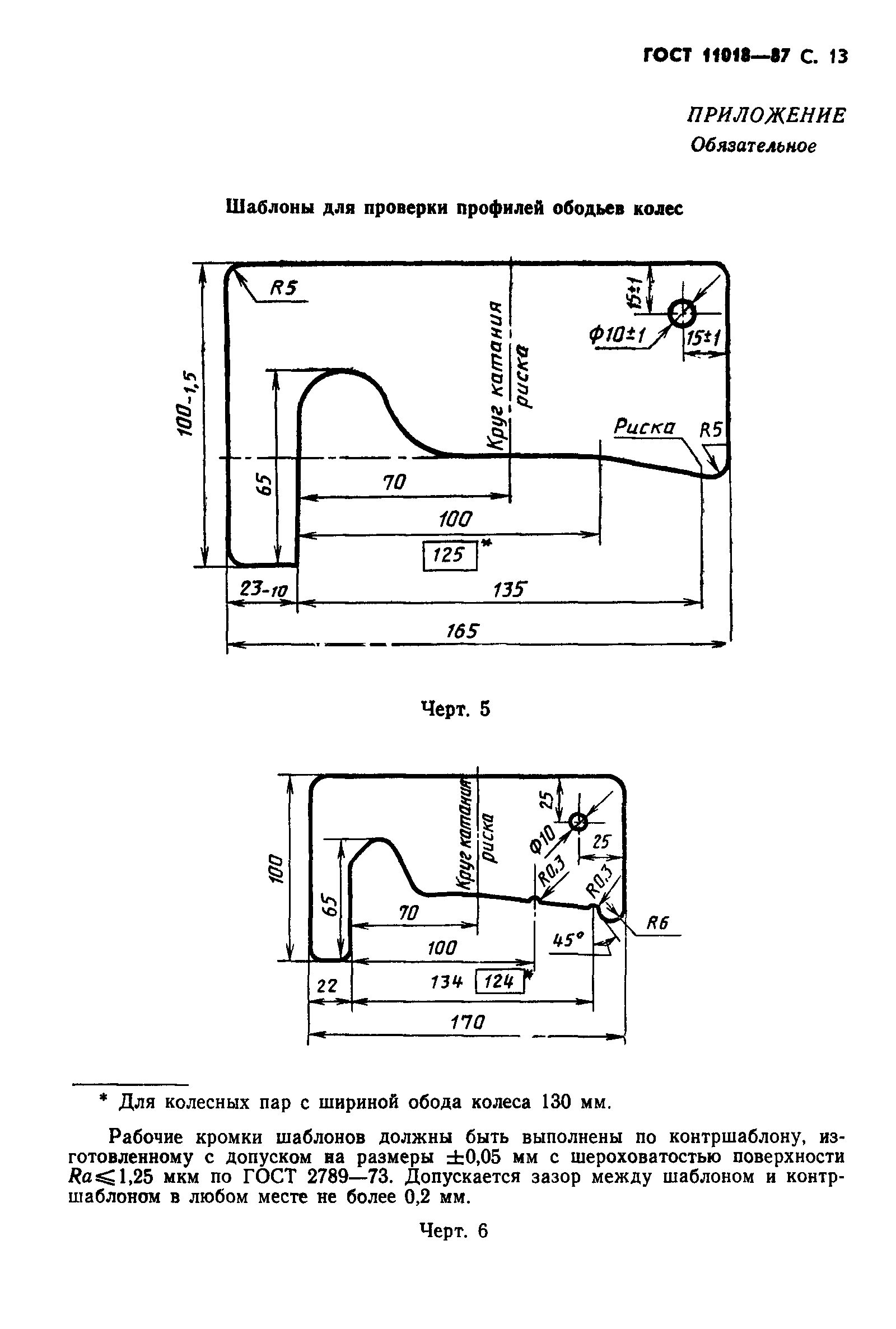
ГОСТ 11018-87 Колесные пары для тепловозов и электровозов железных дорог колеи 1520 мм. Технические условия
ГОСТ
Скачать ГОСТ в PDF или DOC бесплатно
Основная информация
Обозначение:
ГОСТ 11018-87
Статус:
Заменен
Тип:
ГОСТ
Название русское:
Колесные пары для тепловозов и электровозов железных дорог колеи 1520 мм. Технические условия
Название английское:
Wheel sets of diesel and electric locomotives for 1520 mm gauge railways. Specifications
Даты и сроки
Дата издания:
06-22-87
Дата введения в действие:
06-30-88
Дата завершения срока действия:
01-01-02
Применение и описание
Область и условия применения:
Настоящий стандарт распространяется на колесные пары тепловозов и электровозов железных дорог колеи 1520 мм, эксплуатирующихся со скоростми не вше 200 км/ч
Связи и замены
Заменяющий:
ГОСТ 11018-2000
Взамен:
ГОСТ 11018-76
Изменения и переиздания
Список изменений:
№1 от (рег. ) «Срок действия продлен» №2 от (рег. ) «Срок действия продлен» №3 от (рег. ) «Срок действия продлен» №4 от (рег. ) «Срок действия продлен»
Описание стандарта
ГОСТ 11018-87 Колесные пары для тепловозов и электровозов железных дорог колеи 1520 мм. Технические условия
Страницы стандарта








































