ГОСТ 12135-75 Подкладки костыльного скрепления к железнодорожным рельсам типа Р50. Конструкция и размеры
ГОСТ
Скачать ГОСТ в PDF или DOC бесплатно
Основная информация
Обозначение:
ГОСТ 12135-75
Статус:
Заменен
Тип:
ГОСТ
Название русское:
Подкладки костыльного скрепления к железнодорожным рельсам типа Р50. Конструкция и размеры
Название английское:
The plates of spike fastening for railway P50 rails. Design and dimensions
Даты и сроки
Дата издания:
09-01-87
Дата введения в действие:
01-01-76
Дата завершения срока действия:
03-01-15
Применение и описание
Область и условия применения:
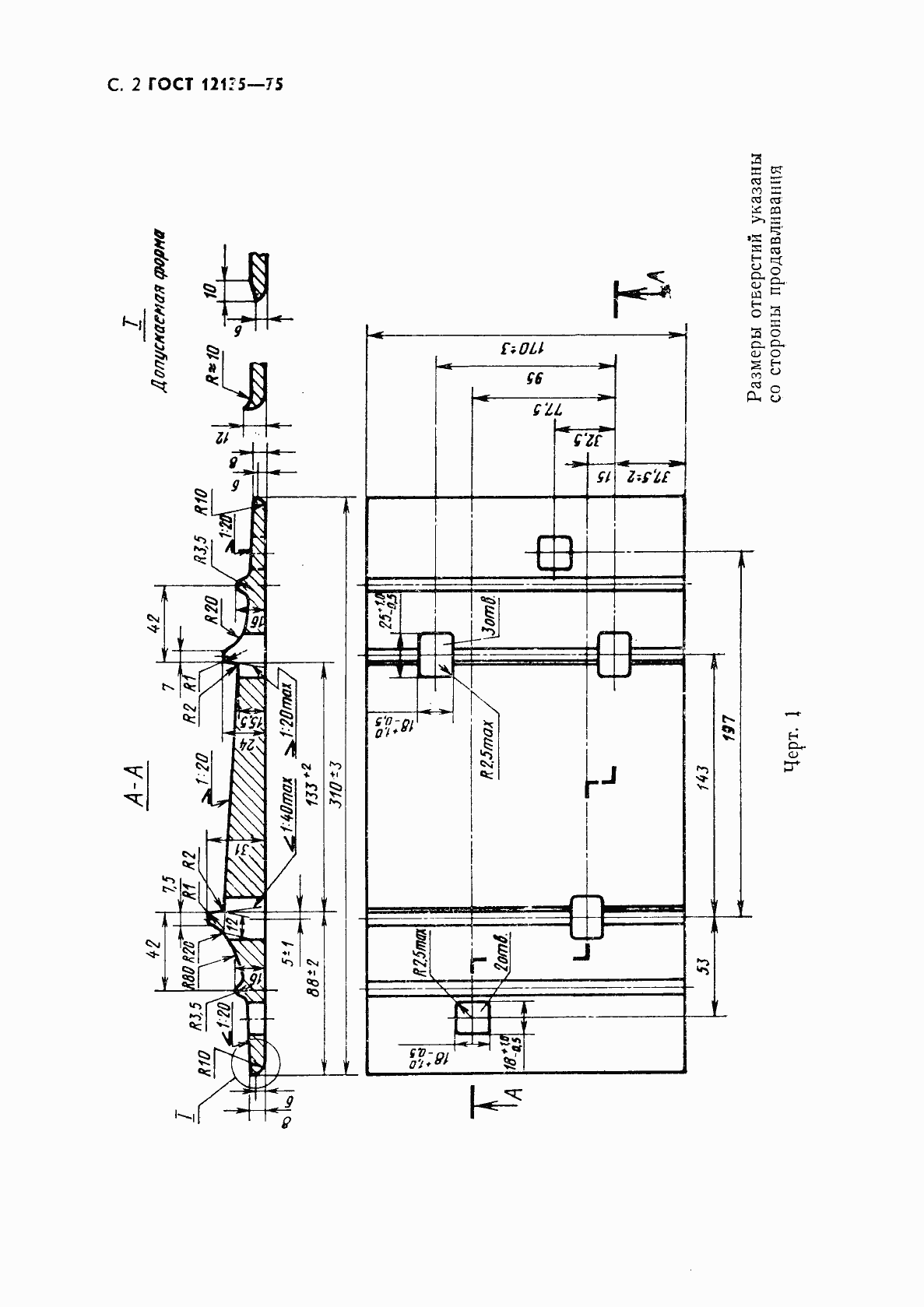
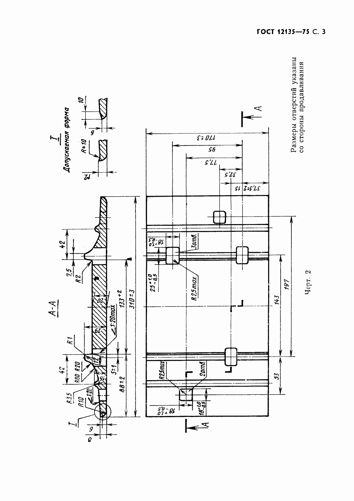
Настоящий стандарт распространяется на подкладки Д50 и СД50 костыльного скрепления к железнодорожным рельсам типа Р50. Подкладки СД50 применяются в конструкциях железнодорожного пути, где не требуется наклон рельсовых нитей
Связи и замены
Заменяющий:
ГОСТ 32694-2014
Взамен:
ГОСТ 12135-66
Изменения и переиздания
Список изменений:
№0 от (рег. ) «Срок действия продлен» №1 от (рег. ) «Срок действия продлен» №2 от (рег. ) «Срок действия продлен»
Описание стандарта
ГОСТ 12135-75 Подкладки костыльного скрепления к железнодорожным рельсам типа Р50. Конструкция и размеры
Страницы стандарта






