ГОСТ 19240-73 Рельсы для наземных и подвесных путей. Сортамент
ГОСТ
Скачать ГОСТ в PDF или DOC бесплатно
Основная информация
Обозначение:
ГОСТ 19240-73
Статус:
Действует
Тип:
ГОСТ
Название русское:
Рельсы для наземных и подвесных путей. Сортамент
Название английское:
Rails for ground and suspended tracks. Dimensions
Даты и сроки
Дата издания:
01-01-03
Дата введения в действие:
01-01-75
Дата завершения срока действия:
-
Применение и описание
Область и условия применения:
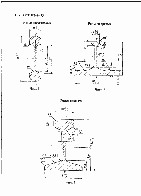
Настоящий стандарт распространяется на рельсы двухголовые, тавровые и типа Р5, предназначенные для наземных и подвесных путей
Связи и замены
Заменяющий:
-
Взамен в части:
ГОСТ 5157-53 в части рельсов двухголовых, тавровых и типа Р5 для наземных и подвесных путей
Изменения и переиздания
Список изменений:
№1 от (рег. ) «Срок действия продлен»
Описание стандарта
ГОСТ 19240-73 Рельсы для наземных и подвесных путей. Сортамент
Страницы стандарта





