ГОСТ 21797-76 Шайбы пружинные двухвитковые для железнодорожного пути. Технические условия
ГОСТ
Скачать ГОСТ в PDF или DOC бесплатно
Основная информация
Обозначение:
ГОСТ 21797-76
Статус:
Заменен
Тип:
ГОСТ
Название русское:
Шайбы пружинные двухвитковые для железнодорожного пути. Технические условия
Название английское:
Two-turn spring washers for railway track. Technical specifications
Даты и сроки
Дата издания:
10-01-94
Дата введения в действие:
06-30-77
Дата завершения срока действия:
07-01-15
Применение и описание
Область и условия применения:
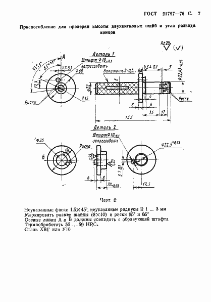
Настоящий стандарт распространяется на двухвитковые пружинные шайбы класса точности С, предназначенные для применения с болтами диаметром 22 мм и с шурупами диаметром 24 мм в конструкциях верхнего строения пути железных дорог
Связи и замены
Заменяющий:
ГОСТ 21797-2014
Изменения и переиздания
Список изменений:
№1 от (рег. ) «Срок действия продлен» №2 от (рег. ) «Срок действия продлен»
Описание стандарта
ГОСТ 21797-76 Шайбы пружинные двухвитковые для железнодорожного пути. Технические условия
Страницы стандарта










