ГОСТ 28370-89 Крестовины сборные марок 1/11 и 1/9. Основные размеры
ГОСТ
Скачать ГОСТ в PDF или DOC бесплатно
Основная информация
Обозначение:
ГОСТ 28370-89
Статус:
Действует
Тип:
ГОСТ
Название русское:
Крестовины сборные марок 1/11 и 1/9. Основные размеры
Название английское:
Railbound frogs of 1/11 and 1/9 marks. Basic dimensions
Даты и сроки
Дата издания:
12-01-05
Дата введения в действие:
06-30-90
Дата завершения срока действия:
-
Применение и описание
Область и условия применения:
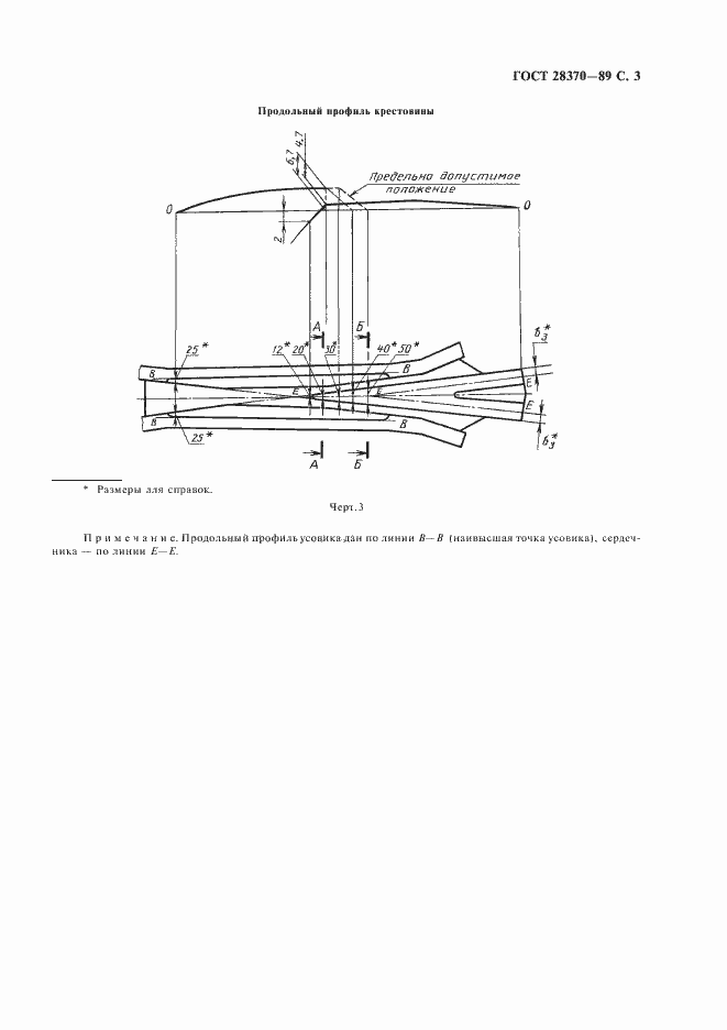
Настоящий стандарт распространяется на острые крестовины стрелочных переводов марок 1/11 и 1/9 к рельсам типов Р75, Р65, Р50 с литыми сердечниками в общей отливке с наиболее изнашиваемой частью усовиков, применяемые на железных дорогах МПС СССР
Связи и замены
Заменяющий:
-
Взамен:
ОСТ 32.51-83
Описание стандарта
ГОСТ 28370-89 Крестовины сборные марок 1/11 и 1/9. Основные размеры
Страницы стандарта






