ГОСТ 5812-82 Костыли для железных дорог широкой колеи. Технические условия
ГОСТ
Скачать ГОСТ в PDF или DOC бесплатно
Основная информация
Обозначение:
ГОСТ 5812-82
Статус:
Заменен
Тип:
ГОСТ
Название русское:
Костыли для железных дорог широкой колеи. Технические условия
Название английское:
Fastening for broad gauge railways. Specifications
Даты и сроки
Дата издания:
11-01-98
Дата введения в действие:
01-01-83
Дата завершения срока действия:
03-01-15
Применение и описание
Область и условия применения:
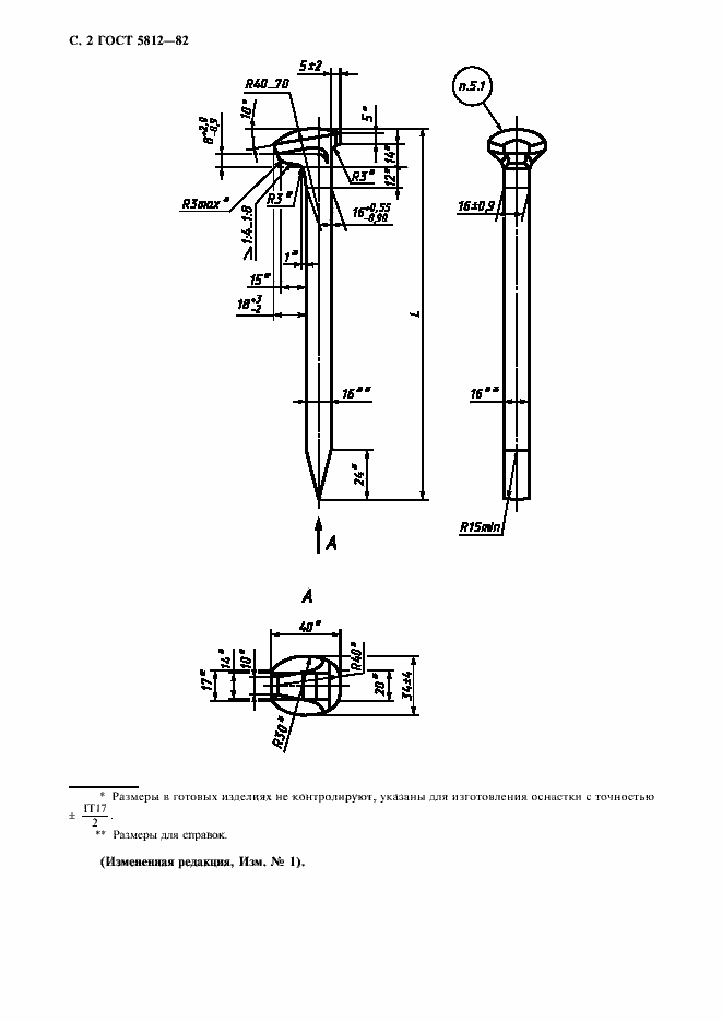
Настоящий стандарт распространяется на костыли класса точности С, предназначенные для крепления железнодорожных рельсов к деревянным шпалам и брусьям
Связи и замены
Заменяющий:
ГОСТ 5812-2014
Взамен:
ГОСТ 5812-75
Изменения и переиздания
Список изменений:
№1 от (рег. ) «Срок действия продлен» №2 от (рег. ) «Срок действия продлен»
Описание стандарта
ГОСТ 5812-82 Костыли для железных дорог широкой колеи. Технические условия
Страницы стандарта







