ГОСТ 6368-82 Рельсы железнодорожные узкой колеи типов Р8, Р11, Р18 и Р24. Конструкция и размеры
ГОСТ
Скачать ГОСТ в PDF или DOC бесплатно
Основная информация
Обозначение:
ГОСТ 6368-82
Статус:
Действует
Тип:
ГОСТ
Название русское:
Рельсы железнодорожные узкой колеи типов Р8, Р11, Р18 и Р24. Конструкция и размеры
Название английское:
Type R8, R11, R18 and R24 narrow-gauge railway rails. Design and dimensions
Даты и сроки
Дата издания:
09-01-88
Дата введения в действие:
01-01-84
Дата завершения срока действия:
-
Применение и описание
Область и условия применения:
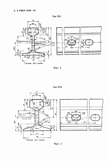
Настоящий стандарт распространяется на рельсы типов Р8, Р11, Р18 и Р24, предназначенные для укладки на железных дорогах узкой колеи
Связи и замены
Заменяющий:
-
Взамен:
ГОСТ 6368-52
Изменения и переиздания
Список изменений:
№1 от (рег. ) «Срок действия продлен»
Описание стандарта
ГОСТ 6368-82 Рельсы железнодорожные узкой колеи типов Р8, Р11, Р18 и Р24. Конструкция и размеры
Страницы стандарта






