ГОСТ 16016-2014 Болты клеммные для рельсовых скреплений железнодорожного пути. Технические условия
ГОСТ
Скачать ГОСТ в PDF или DOC бесплатно
Основная информация
Обозначение:
ГОСТ 16016-2014
Статус:
Действует
Тип:
ГОСТ
Название русское:
Болты клеммные для рельсовых скреплений железнодорожного пути. Технические условия
Название английское:
Clamp bolts for rail track fastenings. Specifications
Даты и сроки
Дата регистрации:
12-05-14
Дата издания:
09-30-19
Дата введения в действие:
07-01-15
Дата завершения срока действия:
-
Применение и описание
Область и условия применения:
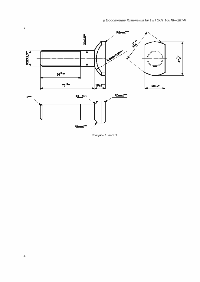
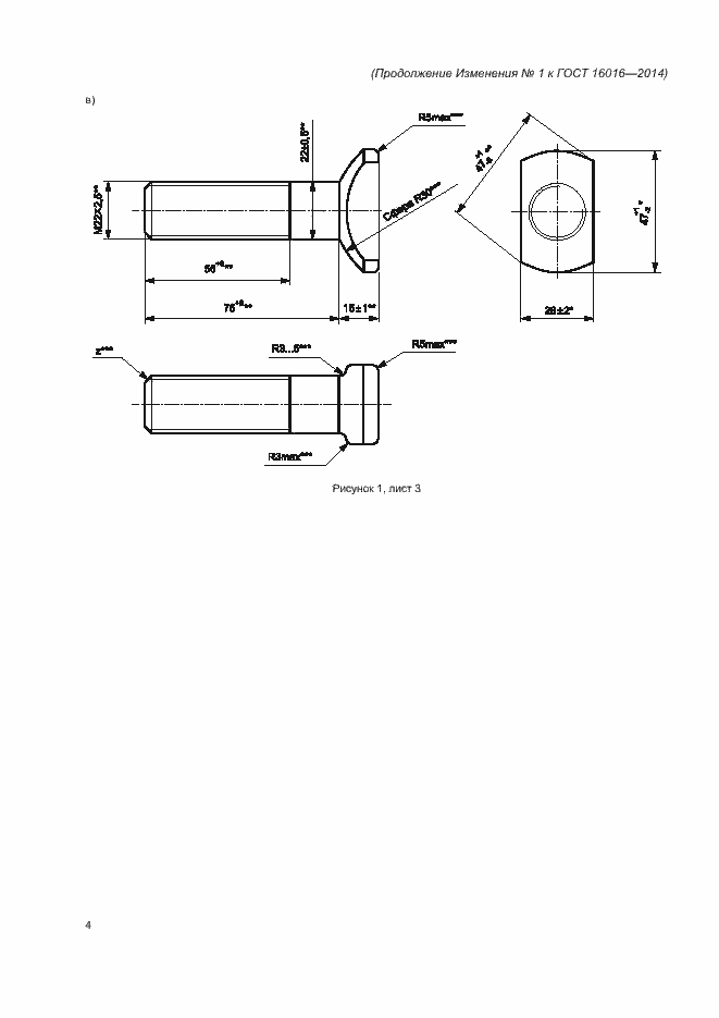
Настоящий стандарт распространяется на болты клеммные нормальной точности (класс точности В по ГОСТ 1759.1, в Российской Федерации действует ГОСТ Р ИСО 4759-1-2009 «Изделия крепежные. Допуски. Часть 1. Болты, винты, шпильки и гайки. Классы точности A, B, и C».), применяемые для крепления рельса к подкладке в раздельных рельсовых скреплениях и устанавливает технические условия к ним
Связи и замены
Заменяющий:
-
Взамен:
ГОСТ 16016-79
Описание стандарта
ГОСТ 16016-2014 Болты клеммные для рельсовых скреплений железнодорожного пути. Технические условия
Страницы стандарта


















Приложение №1: Изменение №1 к ГОСТ 16016-2014 Обозначение: Изменение №1 к ГОСТ 16016-2014 Дата введения в действие: 01.09.2020

Приложение №1: Изменение №1 к ГОСТ 16016-2014 Обозначение: Изменение №1 к ГОСТ 16016-2014 Дата введения в действие: 01.09.2020

Приложение №1: Изменение №1 к ГОСТ 16016-2014 Обозначение: Изменение №1 к ГОСТ 16016-2014 Дата введения в действие: 01.09.2020

Приложение №1: Изменение №1 к ГОСТ 16016-2014 Обозначение: Изменение №1 к ГОСТ 16016-2014 Дата введения в действие: 01.09.2020

Приложение №1: Изменение №1 к ГОСТ 16016-2014 Обозначение: Изменение №1 к ГОСТ 16016-2014 Дата введения в действие: 01.09.2020

Приложение №1: Изменение №1 к ГОСТ 16016-2014 Обозначение: Изменение №1 к ГОСТ 16016-2014 Дата введения в действие: 01.09.2020

Приложение №1: Изменение №1 к ГОСТ 16016-2014 Обозначение: Изменение №1 к ГОСТ 16016-2014 Дата введения в действие: 01.09.2020
