ГОСТ Р 51045-2014 Рельсы для путей промышленного железнодорожного транспорта. Общие технические условия
ГОСТ Р
Скачать ГОСТ в PDF или DOC бесплатно
Основная информация
Обозначение:
ГОСТ Р 51045-2014
Статус:
Действует
Тип:
ГОСТ Р
Название русское:
Рельсы для путей промышленного железнодорожного транспорта. Общие технические условия
Название английское:
Rails of ways technological railways transport. General specifications
Даты и сроки
Дата издания:
03-30-15
Дата введения в действие:
07-01-15
Дата завершения срока действия:
-
Применение и описание
Область и условия применения:
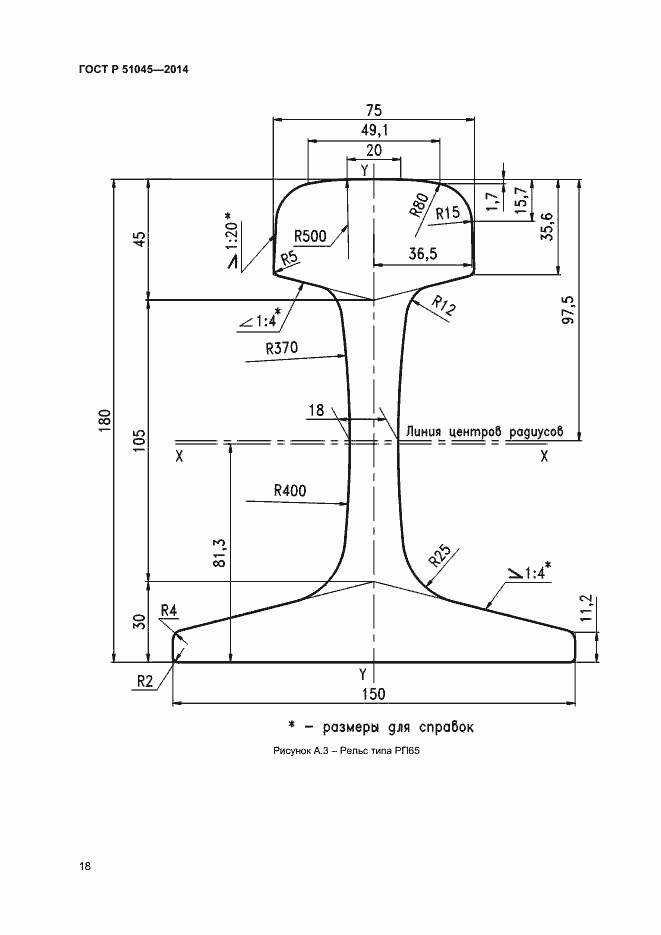
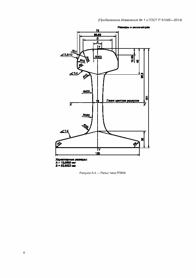
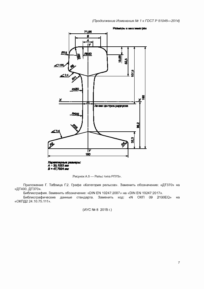
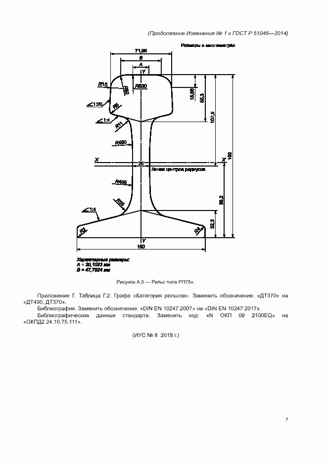
Настоящий стандарт распространяется на железнодорожные рельсы широкой колеи 1520 и 1524 мм (далее - рельсы), предназначенные для эксплуатации на подъездных и технологических путях необщего пользования железнодорожного промышленного транспорта, а также для изготовления стрелочных переводов
Связи и замены
Заменяющий:
-
Взамен:
ГОСТ Р 51045-97
Изменения и переиздания
Список изменений:
№1 от (рег. ) «Срок действия продлен»
Описание стандарта
ГОСТ Р 51045-2014 Рельсы для путей промышленного железнодорожного транспорта. Общие технические условия
Страницы стандарта


































Приложение №1: Изменение №1 к ГОСТ Р 51045-2014 Обозначение: Изменение №1 к ГОСТ Р 51045-2014 Дата введения в действие: 01.11.2018

Приложение №1: Изменение №1 к ГОСТ Р 51045-2014 Обозначение: Изменение №1 к ГОСТ Р 51045-2014 Дата введения в действие: 01.11.2018

Приложение №1: Изменение №1 к ГОСТ Р 51045-2014 Обозначение: Изменение №1 к ГОСТ Р 51045-2014 Дата введения в действие: 01.11.2018

Приложение №1: Изменение №1 к ГОСТ Р 51045-2014 Обозначение: Изменение №1 к ГОСТ Р 51045-2014 Дата введения в действие: 01.11.2018

Приложение №1: Изменение №1 к ГОСТ Р 51045-2014 Обозначение: Изменение №1 к ГОСТ Р 51045-2014 Дата введения в действие: 01.11.2018

Приложение №1: Изменение №1 к ГОСТ Р 51045-2014 Обозначение: Изменение №1 к ГОСТ Р 51045-2014 Дата введения в действие: 01.11.2018

Приложение №1: Изменение №1 к ГОСТ Р 51045-2014 Обозначение: Изменение №1 к ГОСТ Р 51045-2014 Дата введения в действие: 01.11.2018
