ГОСТ 17601-90 Сепараторы центробежные судовые. Приемка и методы испытаний
ГОСТ
Скачать ГОСТ в PDF или DOC бесплатно
Основная информация
Обозначение:
ГОСТ 17601-90
Статус:
Действует
Тип:
ГОСТ
Название русское:
Сепараторы центробежные судовые. Приемка и методы испытаний
Название английское:
Marine centrifugal separators. Acceptance and methods of tests
Даты и сроки
Дата издания:
05-25-90
Дата введения в действие:
01-01-91
Дата завершения срока действия:
-
Применение и описание
Область и условия применения:
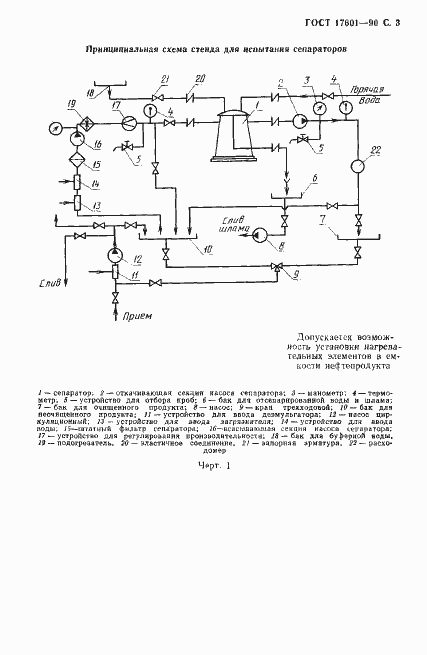
Настоящий стандарт устанавливает порядок приемки и методы контрольных стендовых испытаний центробежных сепараторов топлива и масла, предназначенных для установки на кораблях, судах и плавсредствах
Связи и замены
Заменяющий:
-
Взамен:
ГОСТ 17601-72;ГОСТ 17602-72
Описание стандарта
ГОСТ 17601-90 Сепараторы центробежные судовые. Приемка и методы испытаний
Страницы стандарта










































