ГОСТ 19354-74 Соединения фланцевые судовых валопроводов. Конструкция и размеры
ГОСТ
Скачать ГОСТ в PDF или DOC бесплатно
Основная информация
Обозначение:
ГОСТ 19354-74
Статус:
Действует
Тип:
ГОСТ
Название русское:
Соединения фланцевые судовых валопроводов. Конструкция и размеры
Название английское:
Shaftline flange joints. Construction and dimensions
Даты и сроки
Дата издания:
03-01-04
Дата введения в действие:
01-01-75
Дата завершения срока действия:
-
Применение и описание
Область и условия применения:
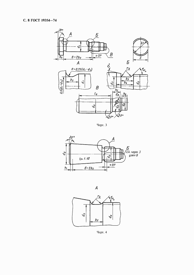
Настоящий стандарт распространяется на фланцевые соединения валов, входящих в состав валопроводов судов, кораблей и плавсредств, и устанавливает конструкцию и основные размеры фланцевых соединений
Связи и замены
Заменяющий:
-
Изменения и переиздания
Список изменений:
№1 от (рег. ) «Срок действия продлен» №2 от (рег. ) «Срок действия продлен» №3 от (рег. ) «Срок действия продлен» №4 от (рег. ) «Срок действия продлен»
Описание стандарта
ГОСТ 19354-74 Соединения фланцевые судовых валопроводов. Конструкция и размеры
Страницы стандарта


















