ГОСТ 25309-94 Крышки судовых сходных люков. Технические условия
ГОСТ
Скачать ГОСТ в PDF или DOC бесплатно
Основная информация
Обозначение:
ГОСТ 25309-94
Статус:
Действует
Тип:
ГОСТ
Название русское:
Крышки судовых сходных люков. Технические условия
Название английское:
Covers of access hatches. Specifications
Даты и сроки
Дата регистрации:
10-21-94
Дата издания:
12-11-96
Дата введения в действие:
07-01-96
Дата завершения срока действия:
-
Применение и описание
Область и условия применения:
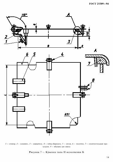
Настоящий стандарт распространяется на крышки судовых сходных люков, применяемые на кораблях, судах и плавсредствах. Стандарт не распространяется на крышки, применяемые на кораблях и судах с динамическими принципами поддержания
Связи и замены
Заменяющий:
-
Взамен:
ГОСТ 25309-82
Описание стандарта
ГОСТ 25309-94 Крышки судовых сходных люков. Технические условия
Страницы стандарта



































