ГОСТ 3124-77 Соединения шланговые для гибких шлангов гидромониторов. Технические условия
ГОСТ
Скачать ГОСТ в PDF или DOC бесплатно
Основная информация
Обозначение:
ГОСТ 3124-77
Статус:
Действует
Тип:
ГОСТ
Название русское:
Соединения шланговые для гибких шлангов гидромониторов. Технические условия
Название английское:
Hose connections for flexible hoses of monitors. Specifications
Даты и сроки
Дата издания:
10-01-84
Дата введения в действие:
01-01-79
Дата завершения срока действия:
-
Применение и описание
Область и условия применения:
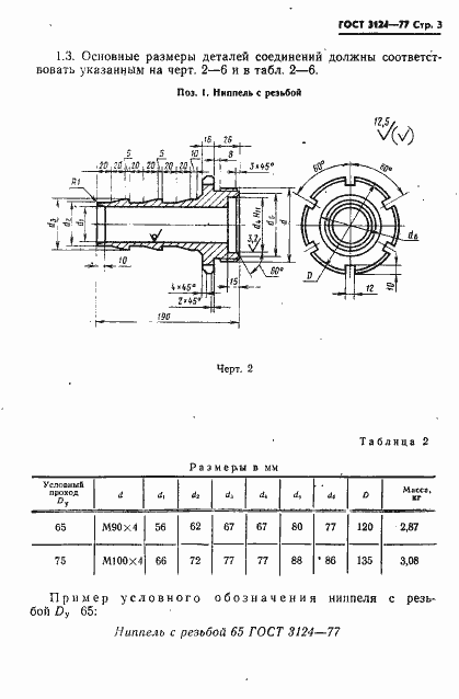
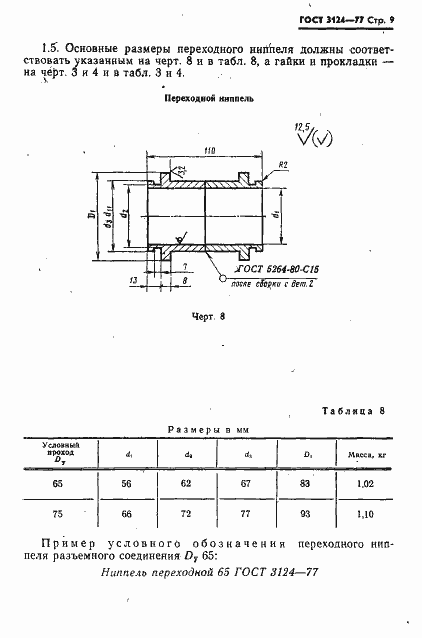
Настоящий стандарт распространяется на шланговые соединения, работающие при давлении до 2,5 МПа (приблизительно 25 кгс/кв.см ), предназначенные для герметичного соединения напорных шлангов между собой, а также для присоединения их к гидромониторам
Связи и замены
Заменяющий:
-
Взамен:
ГОСТ 3124-57
Изменения и переиздания
Список изменений:
№1 от (рег. ) «Срок действия продлен»
Описание стандарта
ГОСТ 3124-77 Соединения шланговые для гибких шлангов гидромониторов. Технические условия
Страницы стандарта













