ГОСТ Р 54117-2010 Глобальные навигационные спутниковые системы. Морские дифференциальные подсистемы. Навигационная аппаратура потребителей. Технические характеристики, методы и требуемые результаты испытаний
ГОСТ Р
Скачать ГОСТ в PDF или DOC бесплатно
Основная информация
Обозначение:
ГОСТ Р 54117-2010
Статус:
Действует
Тип:
ГОСТ Р
Название русское:
Глобальные навигационные спутниковые системы. Морские дифференциальные подсистемы. Навигационная аппаратура потребителей. Технические характеристики, методы и требуемые результаты испытаний
Название английское:
The Global Navigation Satellite Systems. Maritime differential subsystems. Navigation receiver equipment. Performance standards, methods of testing and required test results
Даты и сроки
Дата издания:
12-16-11
Дата введения в действие:
12-01-11
Дата завершения срока действия:
-
Применение и описание
Область и условия применения:
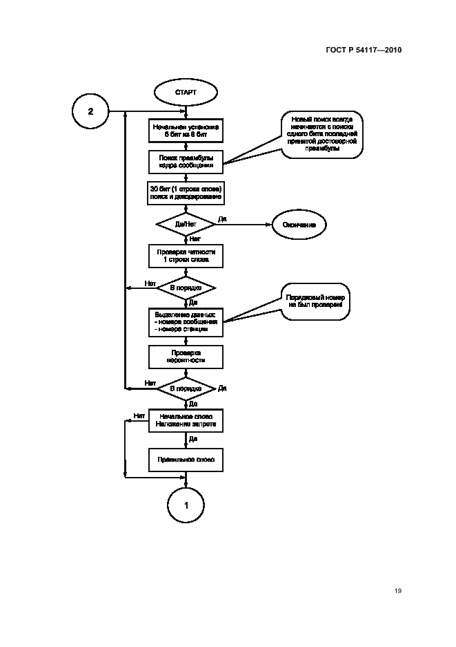
Настоящий стандарт распространяется на навигационную аппаратуру потребителей, предназначенную для приема сигналов дифференциальных поправок от морских дифференциальных подсистем глобальных навигационных спутниковых систем ГЛОНАСС и GPS, используемой на стадии плавания морских судов и судов внутреннего речного и смешанного («река – море») плавания, которая определена как прибрежные воды, подходы к портам, узкости, где свобода маневрирования ограничена, а также при плавании в океане для судов, скорость которых не превышает 70 узлов. Настоящий стандарт устанавливает технические и эксплуатационные требования, методы и требуемые результаты испытаний дифференциальной навигационной аппаратуры потребителей, предназначенной для приема сигналов от морских радиомаяков, обеспечивающих дифференциальную информацию для повышения точности определения координат местоположения с помощью глобальных навигационных спутниковых систем, включая целостность сообщений. Настоящий стандарт не распространяется на другие вычислительные возможности, которые могут быть реализованы в навигационной аппаратуре
Связи и замены
Заменяющий:
-
Описание стандарта
ГОСТ Р 54117-2010 Глобальные навигационные спутниковые системы. Морские дифференциальные подсистемы. Навигационная аппаратура потребителей. Технические характеристики, методы и требуемые результаты испытаний
Страницы стандарта































