ГОСТ Р ИСО 6205-92 Суда внутреннего плавания. Системы таможенного опломбирования. Основные технические требования
ГОСТ Р ИСО
Скачать ГОСТ в PDF или DOC бесплатно
Основная информация
Обозначение:
ГОСТ Р ИСО 6205-92
Статус:
Действует
Тип:
ГОСТ Р ИСО
Название русское:
Суда внутреннего плавания. Системы таможенного опломбирования. Основные технические требования
Название английское:
Inland navigation vessels. Customs sealing systems. Basic technical requirements
Даты и сроки
Дата издания:
12-24-92
Дата введения в действие:
06-30-93
Дата завершения срока действия:
-
Применение и описание
Область и условия применения:
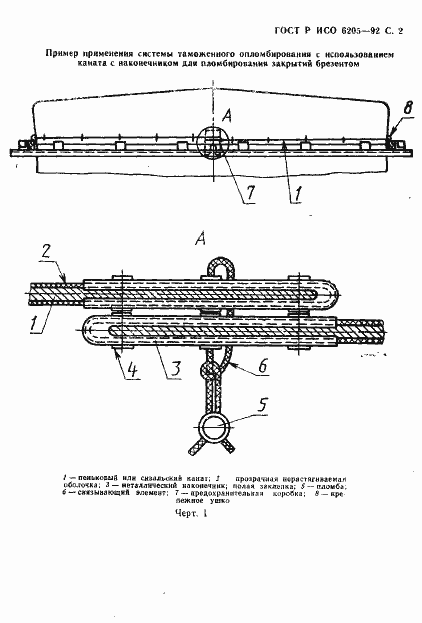
Настоящий стандарт устанавливает основные технические требования, предъявляемые к системам таможенного опломбирования, применяемые на судах внутреннего плавания при пломбировании грузовых помещений. Стандарт не определяет конструкцию систем таможенного опломбирования
Связи и замены
Заменяющий:
-
Описание стандарта
ГОСТ Р ИСО 6205-92 Суда внутреннего плавания. Системы таможенного опломбирования. Основные технические требования
Страницы стандарта







