ГОСТ Р ИСО 8399-2-2010 Авиация и космонавтика. Присоединения агрегатов к изделию. Вспомогательные приводы и монтажные фланцы (метрическая серия). Часть 2. Размеры
ГОСТ Р ИСО
Скачать ГОСТ в PDF или DOC бесплатно
Основная информация
Обозначение:
ГОСТ Р ИСО 8399-2-2010
Статус:
Действует
Тип:
ГОСТ Р ИСО
Название русское:
Авиация и космонавтика. Присоединения агрегатов к изделию. Вспомогательные приводы и монтажные фланцы (метрическая серия). Часть 2. Размеры
Название английское:
Aerospace. Accessory connection to the product. Accessory drives and mounting flanges (Metric series). Part 2. Dimensions
Даты и сроки
Дата издания:
11-11-19
Дата введения в действие:
07-01-11
Дата завершения срока действия:
-
Применение и описание
Область и условия применения:
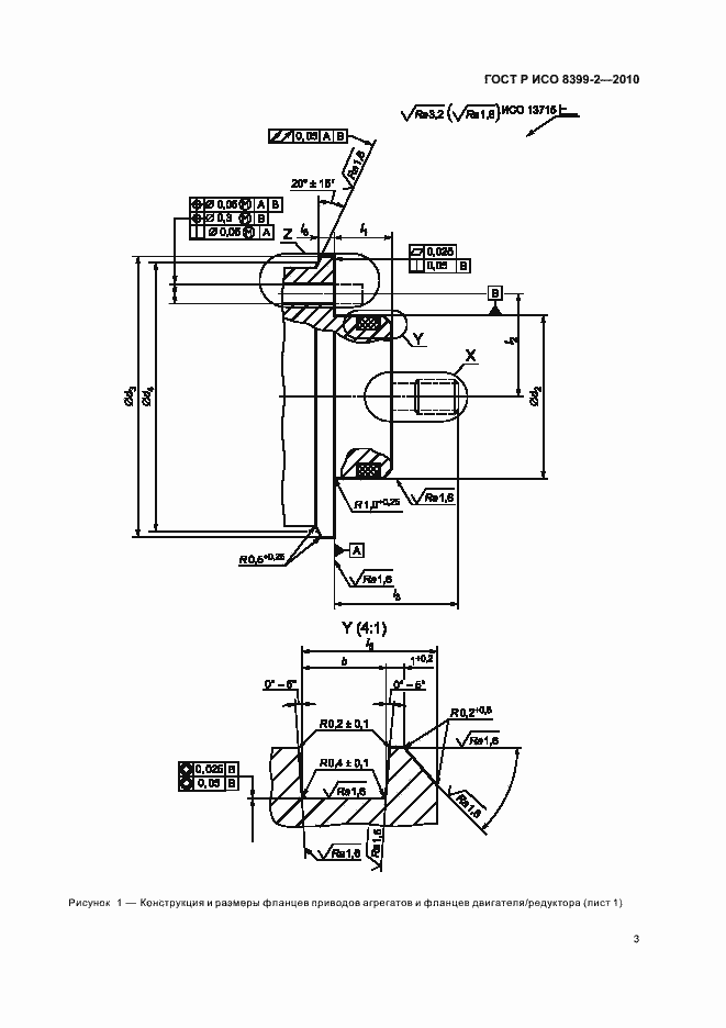
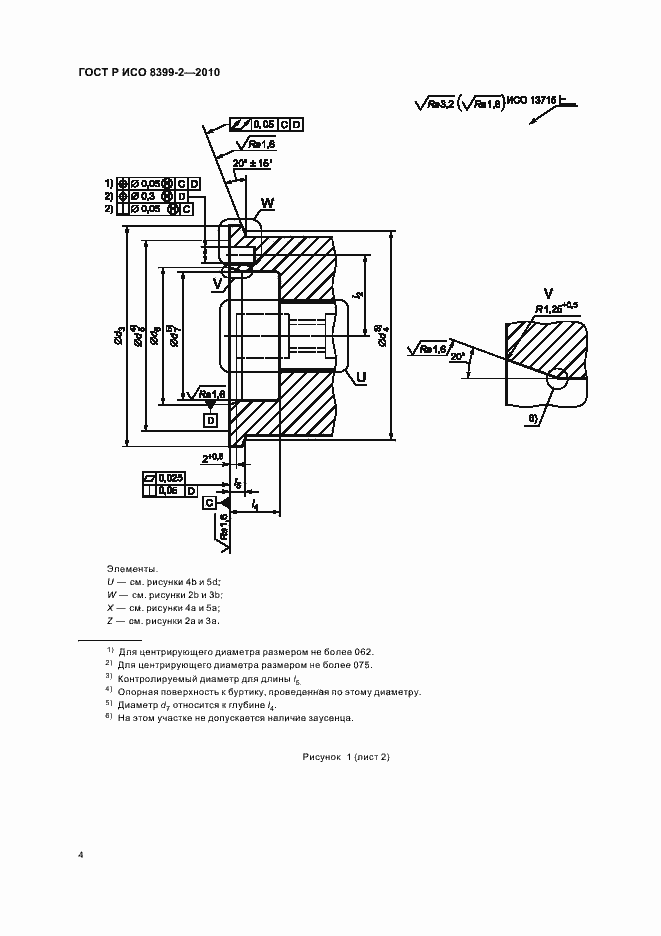
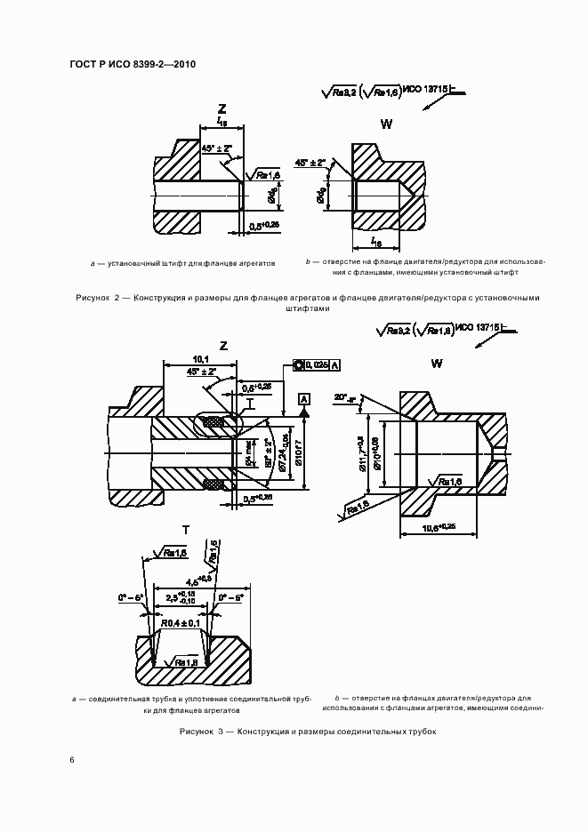
В настоящем стандарте установлены размеры фланцев для агрегатов и монтажных фланцев, обеспечивающих возможности быстрого присоединения или отсоединения, предназначенных в основном для использования в авиационных двигателях/редукторах и агрегатах двигателей
Связи и замены
Заменяющий:
-
Описание стандарта
ГОСТ Р ИСО 8399-2-2010 Авиация и космонавтика. Присоединения агрегатов к изделию. Вспомогательные приводы и монтажные фланцы (метрическая серия). Часть 2. Размеры
Страницы стандарта















