ГОСТ 12809-80 Штуцера санитарных узлов самолетов и вертолетов. Типы и размеры
ГОСТ
Скачать ГОСТ в PDF или DOC бесплатно
Основная информация
Обозначение:
ГОСТ 12809-80
Статус:
Действует
Тип:
ГОСТ
Название русское:
Штуцера санитарных узлов самолетов и вертолетов. Типы и размеры
Название английское:
Aircraft and helicopter toilet flushing connections. Types and dimensions
Даты и сроки
Дата издания:
08-28-80
Дата введения в действие:
06-30-81
Дата завершения срока действия:
-
Применение и описание
Область и условия применения:
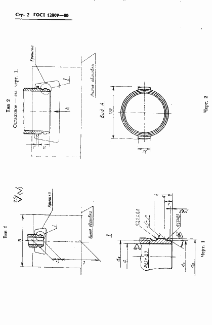
Настоящий стандарт устанавливает типы и размеры штуцеров санитарных узлов самолетов и вертолетов, предназначенных для промывки и заправки санитарных узлов и слива из них отходов закрытым способом при наземном обслуживании
Связи и замены
Заменяющий:
-
Взамен:
ГОСТ 12809-67
Изменения и переиздания
Список изменений:
№1 от (рег. ) «Срок действия продлен»
Описание стандарта
ГОСТ 12809-80 Штуцера санитарных узлов самолетов и вертолетов. Типы и размеры
Страницы стандарта






