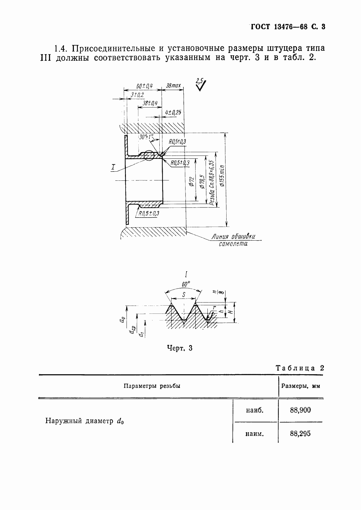
ГОСТ 13476-68 Штуцера для проверки герметичности кабин самолетов. Типы и размеры
ГОСТ
Скачать ГОСТ в PDF или DOC бесплатно
Основная информация
Обозначение:
ГОСТ 13476-68
Статус:
Действует
Тип:
ГОСТ
Название русское:
Штуцера для проверки герметичности кабин самолетов. Типы и размеры
Название английское:
Aircraft. Cabins sealing test connections. Types and dimensions
Даты и сроки
Дата издания:
05-01-88
Дата введения в действие:
03-31-68
Дата завершения срока действия:
-
Применение и описание
Область и условия применения:
Настоящий стандарт распространяется на бортовые штуцера, предназначенные для нагнетания воздуха в кабины самолетов и присоединения приборов контроля давления при проверки герметичности кабин в наземных условиях
Связи и замены
Заменяющий:
-
Изменения и переиздания
Список изменений:
№1 от (рег. ) «Срок действия продлен»
Описание стандарта
ГОСТ 13476-68 Штуцера для проверки герметичности кабин самолетов. Типы и размеры
Страницы стандарта





