ГОСТ 13484-85 Соединение бортового штуцера с наконечником аэродромных кондиционеров и подогревателей. Типы и размеры
ГОСТ
Скачать ГОСТ в PDF или DOC бесплатно
Основная информация
Обозначение:
ГОСТ 13484-85
Статус:
Действует
Тип:
ГОСТ
Название русское:
Соединение бортового штуцера с наконечником аэродромных кондиционеров и подогревателей. Типы и размеры
Название английское:
Board pipe tip connections for ground air-conditioning units and heaters. Types and dimensions
Даты и сроки
Дата издания:
03-01-99
Дата введения в действие:
06-30-86
Дата завершения срока действия:
-
Применение и описание
Область и условия применения:
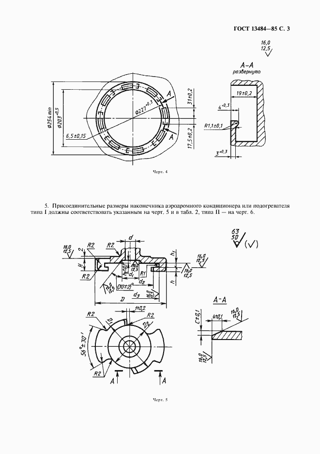
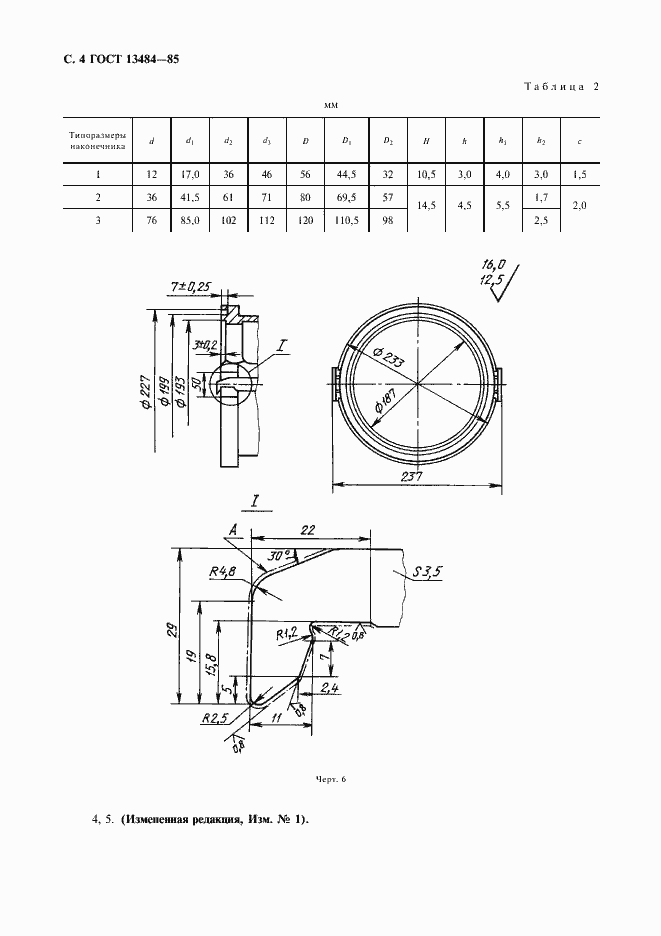
Настоящий стандарт распространяется на соединения бортовых штуцеров с наконечниками аэродромных кондиционеров и подогревателей, предназначенных для нагнетания охлажденного или подогретого воздуха в кабины, салоны и отсеки самолетов и вертолетов, в защитное снаряжение экипажей и мотогондолы двигателей
Связи и замены
Заменяющий:
-
Взамен:
ГОСТ 13484-68
Изменения и переиздания
Список изменений:
№1 от (рег. ) «Поправка»
Описание стандарта
ГОСТ 13484-85 Соединение бортового штуцера с наконечником аэродромных кондиционеров и подогревателей. Типы и размеры
Страницы стандарта






