ГОСТ Р 56183-2014 Двигатели авиационные и их составные части. Чистота промышленная. Очистка ультразвуковая особо ответственных элементов конструкции авиационных двигателей. Типовой технологический процесс
ГОСТ Р
Скачать ГОСТ в PDF или DOC бесплатно
Основная информация
Обозначение:
ГОСТ Р 56183-2014
Статус:
Действует
Тип:
ГОСТ Р
Название русское:
Двигатели авиационные и их составные части. Чистота промышленная. Очистка ультразвуковая особо ответственных элементов конструкции авиационных двигателей. Типовой технологический процесс
Название английское:
Aviation engines and engine components. Ultrasonic cleaning of critical engine construction elements. Standard technologic procedures
Даты и сроки
Дата издания:
11-25-19
Дата введения в действие:
01-01-15
Дата завершения срока действия:
-
Применение и описание
Область и условия применения:
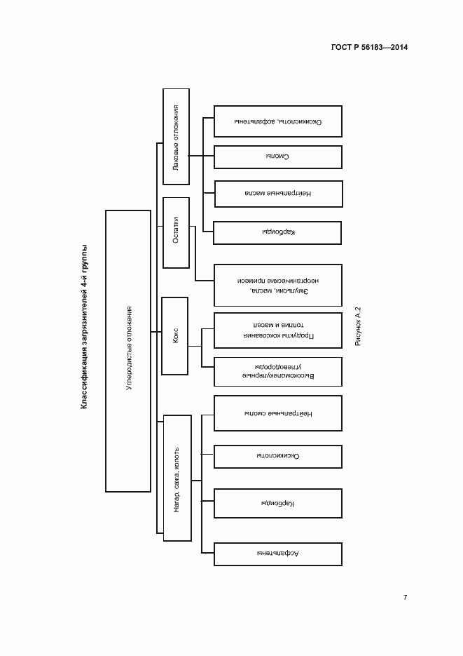
Настоящий стандарт устанавливает порядок, правила и методы контроля при проведении технологического процесса ультразвуковой очистки для получения требуемой чистоты очистки особо ответственных деталей элементов конструкции авиационных двигателей, к которым относятся трубопроводы топливной, масляной, воздушной и кислородной систем, топливные и форсажные коллекторы, рабочие лопатки двигателя (компрессора, турбины низкого и высокого давления, сопловых блоков) и другие детали и сборочные единицы
Связи и замены
Заменяющий:
-
Описание стандарта
ГОСТ Р 56183-2014 Двигатели авиационные и их составные части. Чистота промышленная. Очистка ультразвуковая особо ответственных элементов конструкции авиационных двигателей. Типовой технологический процесс
Страницы стандарта










