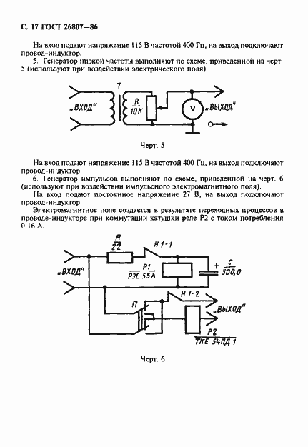
ГОСТ 26807-86 Аппаратура бортовая цифровая самолетов и вертолетов. Методы стендовых испытаний на работоспособность в условиях электромагнитных воздействий
ГОСТ
Скачать ГОСТ в PDF или DOC бесплатно
Основная информация
Обозначение:
ГОСТ 26807-86
Статус:
Действует
Тип:
ГОСТ
Название русское:
Аппаратура бортовая цифровая самолетов и вертолетов. Методы стендовых испытаний на работоспособность в условиях электромагнитных воздействий
Название английское:
Airborne digital apparatus for aircraft and helicopters. Standing test methods for working capacity under electromagnetic action conditions
Даты и сроки
Дата издания:
01-01-97
Дата введения в действие:
06-30-87
Дата завершения срока действия:
-
Применение и описание
Область и условия применения:
Настоящий стандарт распространяется на бортовую цифровую аппаратуру (радиоэлектронные и электронные устройства и их совокупность, включающие в себя элементы электронно-вычислительной и импульсной техники и обеспечивающие одну или несколько функций по приему, передаче, обработке, хранению цифровой информации) и сопрягаемое с ней бортовое оборудование
Связи и замены
Заменяющий:
-
Изменения и переиздания
Список изменений:
№1 от (рег. ) «Срок действия продлен»
Описание стандарта
ГОСТ 26807-86 Аппаратура бортовая цифровая самолетов и вертолетов. Методы стендовых испытаний на работоспособность в условиях электромагнитных воздействий
Страницы стандарта



















