ГОСТ 24396-88 Кабина самолета для двух летчиков. Общие требования к размещению основных и аварийных органов управления
ГОСТ
Скачать ГОСТ в PDF или DOC бесплатно
Основная информация
Обозначение:
ГОСТ 24396-88
Статус:
Действует
Тип:
ГОСТ
Название русское:
Кабина самолета для двух летчиков. Общие требования к размещению основных и аварийных органов управления
Название английское:
Aircraft cabin for two pilots. Main and emergency controls location general requirements
Даты и сроки
Дата издания:
09-16-88
Дата введения в действие:
06-30-89
Дата завершения срока действия:
-
Применение и описание
Область и условия применения:
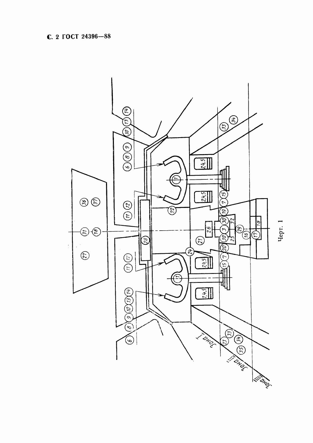
Настоящий стандарт устанавливает общие требования к размещению основных и аварийных органов управления в кабине самолета, в состав экипажа которого входят два летчика (независимо от общего числа членов экипажа), сидящих рядом на расстоянии между осями симметрии их кресел не более 1050 мм, с общим центральным пультом и креслами, допускающими незафиксированные позы летчиков на всех режимах полета. Стандарт не распространяется на кабины самолетов, оборудованные катапультными креслами
Связи и замены
Заменяющий:
-
Описание стандарта
ГОСТ 24396-88 Кабина самолета для двух летчиков. Общие требования к размещению основных и аварийных органов управления
Страницы стандарта














