ГОСТ Р 18.12.04-2021 Технологии авиатопливообеспечения. Средства фильтрации авиатопливообеспечения. Методы испытаний элементов фильтров-водоотделителей
ГОСТ Р
Скачать ГОСТ в PDF или DOC бесплатно
Основная информация
Обозначение:
ГОСТ Р 18.12.04-2021
Статус:
Действует
Тип:
ГОСТ Р
Название русское:
Технологии авиатопливообеспечения. Средства фильтрации авиатопливообеспечения. Методы испытаний элементов фильтров-водоотделителей
Название английское:
Technologies of aviation fuel supply. Filtering equipment in aviation fuel supply. Test methods for water separator filter elements
Даты и сроки
Дата издания:
02-03-21
Дата введения в действие:
03-01-21
Дата завершения срока действия:
-
Применение и описание
Область и условия применения:
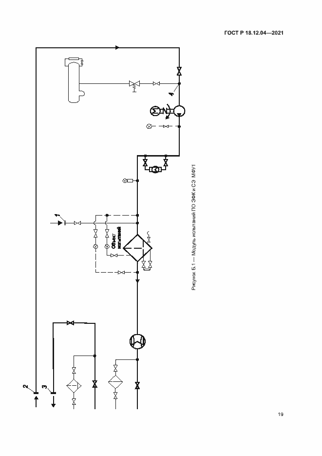
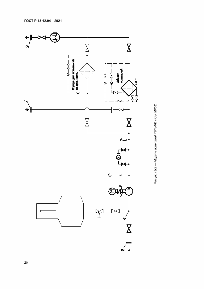
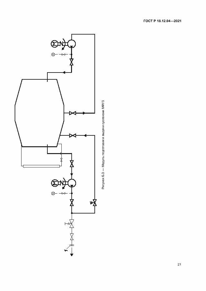
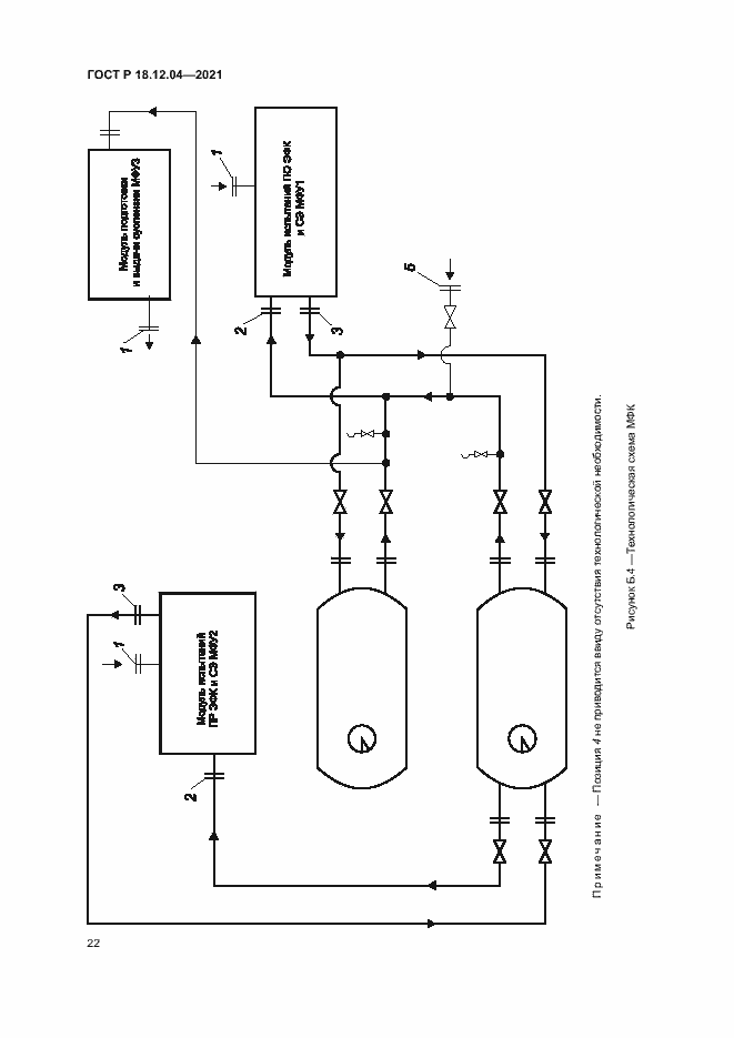
Настоящий стандарт устанавливает основные методы испытаний представительных и полноразмерных образцов элементов фильтрующих коагулирующих и сепарирующих элементов с целью подтверждения их соответствия требованиям ГОСТ Р 18.12.03 и конструкторской документации. Установленные настоящим стандартом методы испытаний по объему, порядку и условиям проведения, используемому испытательному оборудованию и применяемым средствам измерения идентичны соответствующим процедурам. Настоящий стандарт применяют при испытаниях элементов фильтрующих коагулирующих и сепарирующих элементов средств фильтрации, изготавливаемых и поставляемых для использования в оборудовании авиатопливообеспечения по ГОСТ Р 18.12.02 и ГОСТ Р 18.12.03
Связи и замены
Заменяющий:
-
Описание стандарта
ГОСТ Р 18.12.04-2021 Технологии авиатопливообеспечения. Средства фильтрации авиатопливообеспечения. Методы испытаний элементов фильтров-водоотделителей
Страницы стандарта


























