ГОСТ Р 51349-99 Транспорт напольный безрельсовый. Плиты грузовые, вилы. Технические условия
ГОСТ Р
Скачать ГОСТ в PDF или DOC бесплатно
Основная информация
Обозначение:
ГОСТ Р 51349-99
Статус:
Действует
Тип:
ГОСТ Р
Название русское:
Транспорт напольный безрельсовый. Плиты грузовые, вилы. Технические условия
Название английское:
Floor mounted lift trucks. Load plates, fork. Specifications
Даты и сроки
Дата издания:
01-17-00
Дата введения в действие:
07-01-00
Дата завершения срока действия:
-
Применение и описание
Область и условия применения:
Настоящий стандарт распространяется на вновь выпускаемые погрузчики, штабелеры с электроприводои или с двигателем внутреннего сгорания и устанавливает размеры, характеристики грузовых плит и вил, методы испытаний и маркировку вил
Связи и замены
Заменяющий:
-
Изменения и переиздания
Список изменений:
№0 от (рег. ) «Дата введения перенесена»
Описание стандарта
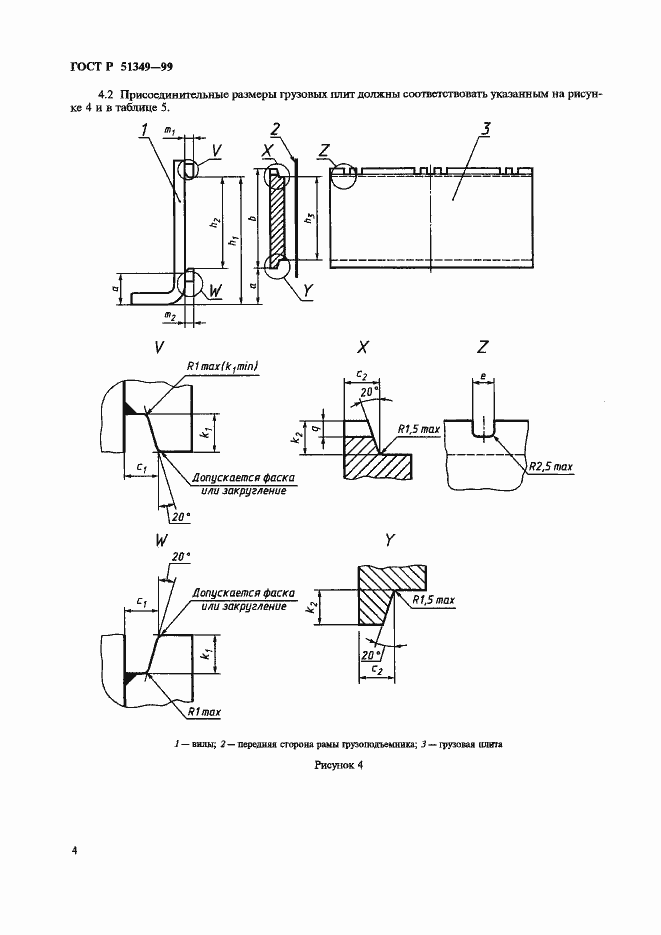
ГОСТ Р 51349-99 Транспорт напольный безрельсовый. Плиты грузовые, вилы. Технические условия
Страницы стандарта












Приложение №1: Поправка к ГОСТ Р 51349-99 Обозначение: Поправка к ГОСТ Р 51349-99 Дата введения в действие: 25.03.2003

Приложение №2: Поправка к ГОСТ Р 51349-99 Обозначение: Поправка к ГОСТ Р 51349-99 Дата введения в действие: 26.03.2003
