ГОСТ Р 56567-2015 Стеллажи сборно-разборные. Нормы расчета
ГОСТ Р
Скачать ГОСТ в PDF или DOC бесплатно
Основная информация
Обозначение:
ГОСТ Р 56567-2015
Статус:
Действует
Тип:
ГОСТ Р
Название русское:
Стеллажи сборно-разборные. Нормы расчета
Название английское:
Adjustable pallet racking systems. Design code
Даты и сроки
Дата издания:
12-15-16
Дата введения в действие:
07-01-16
Дата завершения срока действия:
-
Применение и описание
Область и условия применения:
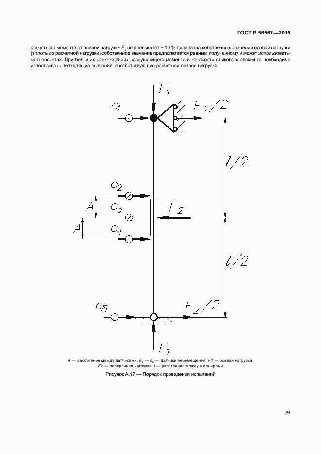
Настоящий стандарт устанавливает основы расчета конструкций стационарных фронтальных сборно-разборных стеллажей, предназначенных для хранения тарных и штучных грузов, несущие элементы которых изготовлены из стали. Требования данного стандарта также распространяются на стеллажи, которые используются в качестве несущих элементов конструкций и сооружений. Настоящий стандарт не распространяется на передвижные, набивные, консольные стеллажи, стеллажи специального назначения и не устанавливает конкретные правила расчета стеллажей, применяемых для работы в сейсмически опасных районах
Связи и замены
Заменяющий:
-
Описание стандарта
ГОСТ Р 56567-2015 Стеллажи сборно-разборные. Нормы расчета
Страницы стандарта




































































































