ГОСТ 27535-87 Машины землеройные. Автогрейдеры. Термины, определения и техническая характеристика для коммерческой документации
ГОСТ
Скачать ГОСТ в PDF или DOC бесплатно
Основная информация
Обозначение:
ГОСТ 27535-87
Статус:
Действует
Тип:
ГОСТ
Название русское:
Машины землеройные. Автогрейдеры. Термины, определения и техническая характеристика для коммерческой документации
Название английское:
Earth-moving machinery. Graders. Terminology and commersial specifications
Даты и сроки
Дата издания:
03-11-88
Дата введения в действие:
01-01-89
Дата завершения срока действия:
-
Применение и описание
Область и условия применения:
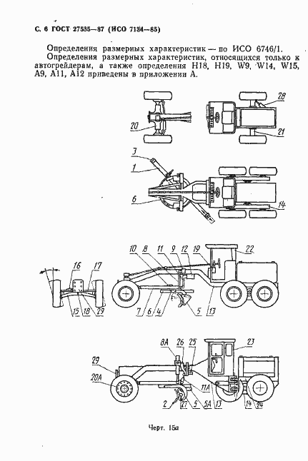
Настоящий стандарт распространяется на машины землеройные и устанавливает термины, определения и содержание технической характеристики для коммерческой документации по автогрейдерам и их рабочему оборудованию
Связи и замены
Заменяющий:
-
Описание стандарта
ГОСТ 27535-87 Машины землеройные. Автогрейдеры. Термины, определения и техническая характеристика для коммерческой документации
Страницы стандарта
























