ГОСТ 28905-91 Машины землеройные. Ножи боковые бульдозерных отвалов. Отверстия
ГОСТ
Скачать ГОСТ в PDF или DOC бесплатно
Основная информация
Обозначение:
ГОСТ 28905-91
Статус:
Действует
Тип:
ГОСТ
Название русское:
Машины землеройные. Ножи боковые бульдозерных отвалов. Отверстия
Название английское:
Earth-moving machinery. Dozer end dits. Hole specification
Даты и сроки
Дата издания:
11-01-04
Дата введения в действие:
01-01-92
Дата завершения срока действия:
-
Применение и описание
Область и условия применения:
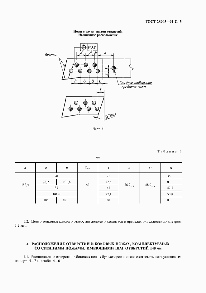
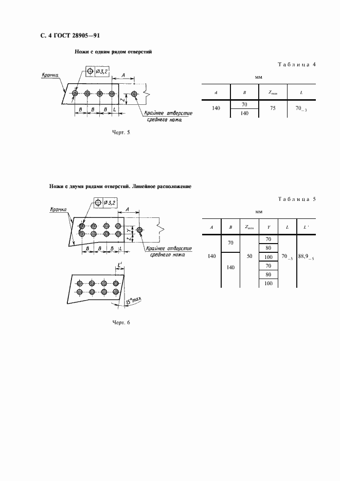
Настоящий стандарт распространяется на поворотные, неповоротные, сферические и полусферические бульдозерные отвалы и устанавливает основные требования к расположению, формам и размерам отверстий под болты крепления боковых ножей бульдозерных отвалов. Стандарт распространяется на вновь разрабатываемые и модернизируемые бульдозеры
Связи и замены
Заменяющий:
-
Описание стандарта
ГОСТ 28905-91 Машины землеройные. Ножи боковые бульдозерных отвалов. Отверстия
Страницы стандарта






