ГОСТ Р ИСО 11112-2012 Машины землеройные. Сиденье водителя. Размеры и требования
ГОСТ Р ИСО
Скачать ГОСТ в PDF или DOC бесплатно
Основная информация
Обозначение:
ГОСТ Р ИСО 11112-2012
Статус:
Действует
Тип:
ГОСТ Р ИСО
Название русское:
Машины землеройные. Сиденье водителя. Размеры и требования
Название английское:
Earth-moving machinery. Operator’s seat. Dimension and requirements
Даты и сроки
Дата издания:
03-24-14
Дата введения в действие:
01-01-14
Дата завершения срока действия:
-
Применение и описание
Область и условия применения:
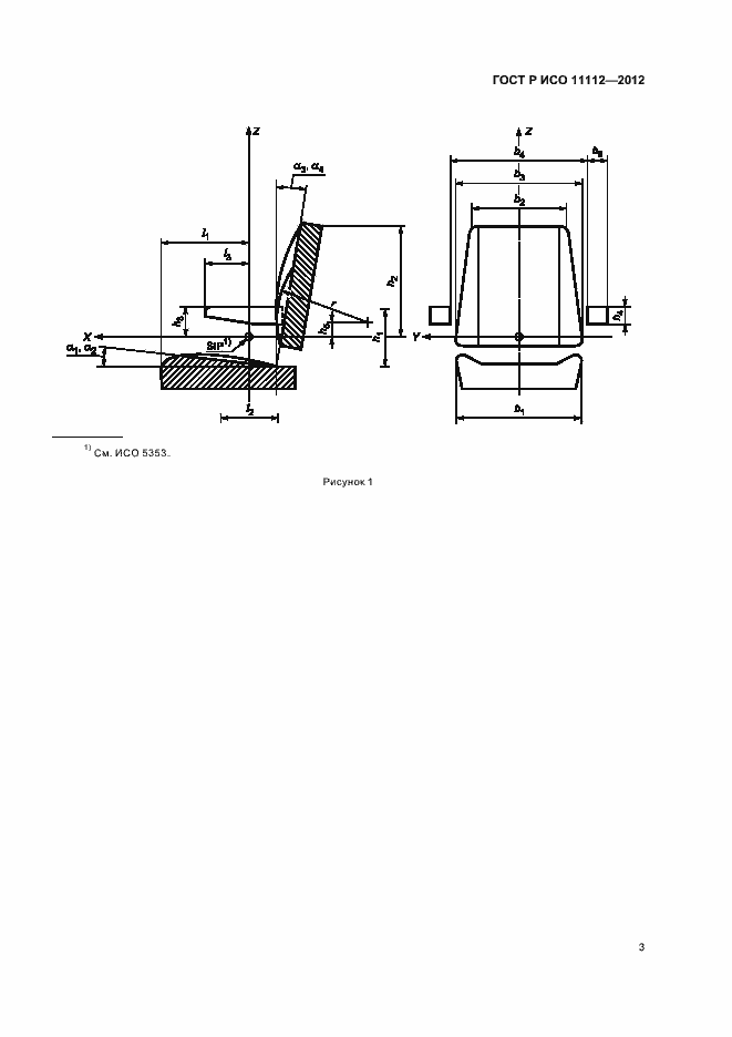
Настоящий стандарт устанавливает размеры, технические требования и диапазон регулирования для сидений операторов землеройных машин по ИСО 6165. Настоящий стандарт также устанавливает размеры подлокотников, если сиденья машин ими оборудованы
Связи и замены
Заменяющий:
-
Описание стандарта
ГОСТ Р ИСО 11112-2012 Машины землеройные. Сиденье водителя. Размеры и требования
Страницы стандарта







